| Тип | Корпус | Метка | Описание | Даташит | Аналог |
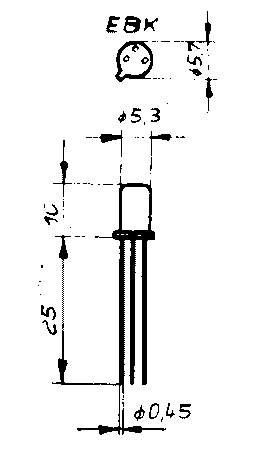
| 2GA109 |
DO 7 |
|
Германиевый диод (пара) 40V 15 mA |
|
|
| 2GA113 |
DO 7 |
|
Германиевый диод (пара) 25V 30 mA |
|
|
| 2OA646 |
DO 7 |
|
Германиевый диод (пара) 40V 15 mA |
|
|
| 4GA114 |
DO 7 |
|
Германиевый диод (4 шт.) 25V 30 mA |
|
|
| 7212 |
|
|
Гибридная микросхема широкополосного усилителя антенны |
|
|
| A109D |
DIL 14 |
|
Универсальный операционный усилитель |
PDF: 298K |
µA709 |
| A110D |
DIL 14 |
|
Компаратор с выходом TTL |
PDF: 982K |
SN72710N |
| A1524D |
DIL 18 |
|
Регулятор громкости стерео |
PDF: 572K |
TDA1524 |
| A1670V |
Multiwatt 15 |
|
УНЧ 30 Вт |
PDF: 309K |
TDA1670A |
| A1818D |
DIL 20 |
|
Универсальный тракт записи/воспроизведения магнитофона с низким уровнем шумов |
PDF: 355K |
LM1818 |
| A2000V |
Multiwatt 11 |
|
Двухканальный УНЧ 2x5 Вт |
PDF: 476K |
TDA4925 |
| A2005V |
Multiwatt 11 |
|
Двухканальный УНЧ 2x20 Вт |
PDF: 476K |
TDA2005 |
| A2014DC |
DIL 8 |
|
Переключатель видеосигнала |
|
TEA2014 |
| A202D |
DIL 16 |
|
Усилитель записи, микрофона и воспроизведения |
PDF: 137K |
TDA1002 |
| A203 |
DIL 12 |
|
УНЧ 3 Вт |
|
|
| A2030H, A2030V |
TO 220-5 |
|
УНЧ 16 Вт |
PDF: 325K |
TDA2030 |
| A204 |
DIL 12 |
|
Усилитель вертикального отклонения 5 Вт |
PDF: 18K |
|
| A205 |
DIL 12 |
|
УНЧ 5 Вт |
PDF: 757K |
|
| A208 |
DIL 12 |
|
УНЧ 3 Вт |
PDF: 603K |
|
| A209 |
DIL 12 |
|
Усилитель вертикального отклонения 4.5 Вт |
PDF: 226K |
|
| A210E |
DIL 12 |
|
УНЧ 6 Вт без радиатора |
PDF: 139K |
TBA810AS |
| A210K |
DIL 12 |
|
УНЧ 6 Вт с радиатором |
PDF: 139K |
TBA810S |
| A211D |
DIL 14 |
|
УНЧ 1 Вт |
PDF: 988K |
TAA611 |
| A220D |
DIL 14 |
|
УПЧ 0 .. 12 МГц |
PDF: 2,7M |
TBA120S |
| Тип | Корпус | Метка | Описание | Даташит | Аналог |
| A223D |
DIL 14 |
|
УПЧ, демодулятор, регулятор громкости |
PDF: 1.5M |
TBA120U |
| A224D |
DIL 14 |
|
УПЧ FM для работы с керамическим фильтром, демодулятор |
PDF: 938K |
TBA120T |
| A225D |
DIL 18 |
|
УПЧ FM и демодулятор |
PDF: 417K |
TDA1047 |
| A230D |
DIL 16 |
|
Усилитель-преобразователь сигналов цветности RY/BY -> RGB |
PDF: 403K |
|
| A231D |
DIL 16 |
|
Усилитель-преобразователь сигналов цветности RY/BY -> RGB |
PDF: 409K |
(TBA530) |
| A232D |
DIL 16 |
|
RGB матрица |
PDF: 587K |
TDA2532 |
| A240D |
DIL 14 |
|
Видеоусилитель для черно-белых и цветных TV |
PDF: 387K |
TDA440 |
| A241D |
DIL 16 |
|
Видеоусилитель и демодулятор с АРУ для черно-белых и цветных TV |
PDF: 144K |
TDA2541 |
| A244D |
DIL 16 |
|
Приемник AM |
PDF: 201K |
TCA440 |
| A250D |
DIL 14 |
|
Схема обработки видеосигнала |
PDF: 433K |
TBA950 |
| A252 |
DIL 14 |
|
Схема горизонтальной синхронизации |
PDF: 418K |
|
| A255D |
DIL 16 |
|
Схема горизонтальной синхронизации |
PDF: 427K |
TDA2593 |
| A270D |
DIL 16 |
|
Видеоусилитель |
PDF: 499K |
TBA970 |
| A273D |
DIL 16 |
|
Регулятор громкости и стереобаланса |
PDF: 111K |
TCA730 |
| A274D |
DIL 16 |
|
Стереофонический регулятор тембра ВЧ и НЧ |
PDF: 99K |
TCA740 |
| A277D |
DIL 18 |
|
Драйвер LED для формирования полоски индикации уровня из 12 светодиодов |
PDF: 569K |
(UAA180) |
| A281D |
DIL 14 |
|
Приемник AM-FM-СВ |
PDF: 1.8M |
TAA981 |
| A283D |
DIL 16 |
|
Однокристальный приемник AM/FM |
PDF: 263K |
TDA1083 |
| A290D |
DIL 14 |
|
FM-стереодекодер с ФАПЧ |
|
MC1310P |
| A295D |
DIL 14 |
|
Переключатель каналов цвета SECAM |
PDF: 119K |
|
| A301D |
DIL 14 |
|
Бесконтактный переключатель |
PDF: 844K |
(TCA205A) |
| A301W |
DIL 8 |
(301) |
Бесконтактный переключатель |
PDF: 844K |
(TCA205A) |
| A302D |
DIL 4 |
|
Пороговый ключ |
PDF: 585K |
TCA345A |
| A3048DC |
DIL 16 |
|
Инфракрасный приемник |
|
TDA3048 |
| A311D |
DIL 18 |
|
Контроллер камеры |
PDF: 43K |
|
| Тип | Корпус | Метка | Описание | Даташит | Аналог |
| A321G |
PLCC 48 |
|
Контроллер камеры |
PDF: 766k |
|
| A3501D |
DIL 28 |
|
Декодер PAL/SECAM |
PDF: 340K |
TDA3501 |
| A3510D |
DIL 24 |
|
Декодер PAL |
PDF: 262K |
TDA3510, MCA3510 |
| A3520D |
DIL 28 |
|
Декодер SECAM |
PDF: 288K |
TDA3520, К174ХА16 [1, 2] |
| A4100D |
DIL 22 |
|
Приемник AM/FM |
|
TDA4100 |
| A4510D |
DIL 18 |
|
Стереодекодер с ФАПЧ |
PDF: 309K |
TCA4510 |
| A4511D |
DIL 18 |
|
Стереодекодер с ФАПЧ |
PDF: 328K |
TCA4511 |
| A4555D |
DIL 28 |
|
Мультисистемный декодер (PAL, SECAM, NTSC 3.58 МГц и NTSC 4.43 МГц) |
|
TDA4555 |
| A4565D |
DIL 18 |
|
Схема распространения и задержки сигнала в тракте декодирования цвета |
|
TDA4565 |
| A4580D |
DIL 28 |
|
Усилитель-преобразователь сигналов цветности RY/BY -> RGB |
|
TDA4580 |
| A902D |
DIL 4 |
|
Триггер Шмитта для камер |
PDF: 186K |
|
| A910 |
DIL 14 |
|
Контроллер для камер |
|
|
| B060D |
DIL 8 |
060 / 60. |
Маломощный операционный усилитель BIFET |
PDF: 184K |
TL060 |
| B061D |
DIL 8 |
|
Маломощный операционный усилитель BIFET |
PDF: 184K |
TL061 |
| B062D |
DIL 8 |
|
Маломощный операционный усилитель BIFET |
PDF: 184K |
TL062 |
| B064D |
DIL 14 |
|
Маломощный операционный усилитель BIFET |
PDF: 184K |
TL064 |
| B066D |
DIL 8 |
|
Маломощный операционный усилитель BIFET |
PDF: 184K |
TL066 |
| B080D |
DIL 8 |
|
Операционный усилитель с входами JFET |
PDF: 107K |
TL080 |
| B082D |
DIL 8 |
|
Операционный усилитель с входами JFET |
PDF: 107K |
TL082 |
| B083D |
DIL 14 |
|
Операционный усилитель с входами JFET |
PDF: 107K |
TL083 |
| B084D |
DIL 14 |
|
Операционный усилитель с входами JFET |
PDF: 107K |
TL084 |
| B109D |
DIL 14 |
|
Универсальный операционный усилитель |
PDF: 298K |
µA709 |
| B110D |
DIL 14 |
|
Компаратор с TTL-выходом |
PDF: 982K |
SN72710N |
| B125/110-20 |
Metall |
|
Однофазный выпрямительный мост (кремниевые диоды) 125V 20A |
PDF: 520K |
|
| Тип | Корпус | Метка | Описание | Даташит | Аналог |
| B165 |
TO 220-5 |
|
Мощный операционный усилитель 20 Вт |
PDF: 125K |
L165 |
| B176D |
DIL 8 |
176 |
Программируемый операционный усилитель |
PDF: 83K |
µA776 |
| B177D |
DIL 14 |
|
Программируемый операционный усилитель |
PDF: 83K |
µA177 |
| B20/15-20 |
Metall |
|
Однофазный выпрямительный мост (кремниевые диоды) 20V 20A |
PDF: 520K |
|
| B222D |
DIL 14 |
|
Двойной двухтактный смеситель |
PDF: 128K |
|
| B250/220-20 |
Metall |
|
Однофазный выпрямительный мост (кремниевые диоды) 250V 20A |
PDF: 520K |
|
| B2600DG |
DIL 18 |
|
Микросхема контроллера импульсного источника питания |
|
|
| B260D |
DIL 16 |
|
Микросхема контроллера импульсного источника питания (с биполярным выходным каскадом) |
PDF: 432K |
TDA1060 |
| B2761D |
DIL 8 |
2761 |
Операционный усилитель с выходом с открытым коллектором |
PDF: 499K |
TAA2761A |
| B2765D |
DIL 8 |
2765 |
Операционный усилитель с выходом с открытым коллектором |
PDF: 499K |
TAA2765A |
| B2765S |
DIL 8 |
|
Операционный усилитель с выходом с открытым коллектором |
|
|
| B2960VG |
Multiwatt-15 |
|
Микросхема контроллера импульсного источника питания |
PDF: 557K |
L296 |
| B303D |
DIL 14 |
|
Бесконтактный переключатель |
PDF: 1.4M |
(TCA205A) |
| B3040DA |
DIL 28 |
|
Датчик драйвера для тестеров плат |
PDF: 381K |
|
| B304D |
DIL 14 |
|
Бесконтактный переключатель |
PDF: 1.4M |
(TCA205A) |
| B305D |
DIL 14 |
|
Бесконтактный переключатель |
PDF: 1.4M |
(TCA205A) |
| B306D |
DIL 8 |
306 |
Бесконтактный переключатель |
PDF: 1.4M |
(TCA205A) |
| B308D |
DIL 14 |
|
УНЧ для телефонных аппаратов |
PDF: 242K |
(TBA830) |
| B315D |
DIL 14 |
|
Сборка мощных транзисторов |
|
Q2T2222 |
| B315E |
DIL 12 |
|
Сборка мощных транзисторов |
|
Q2T2222 |
| B315K |
DIL 12 |
|
Сборка мощных транзисторов |
|
Q2T2222 |
| B3170V |
TO 220-3 |
|
Линейный регулируемый стабилизатор положительного напряжения |
PDF: 1.4M |
LM317T |
| B3171V |
TO 220-3 |
|
Линейный регулируемый стабилизатор положительного напряжения |
PDF: 1.4M |
LM317HV |
| B318D |
DIL 14 |
|
УНЧ для телефонных аппаратов |
PDF: 242K |
(TBA830) |
| B325D |
DIL 14 |
|
Сборка мощных транзисторов |
|
Q2T2222 |
| Тип | Корпус | Метка | Описание | Даташит | Аналог |
| B325E |
DIL 12 |
|
Сборка мощных транзисторов |
|
Q2T2222 |
| B325K |
DIL 12 |
|
Сборка мощных транзисторов |
|
Q2T2222 |
| B331G |
DIL 14 |
|
Усилитель слухового аппарата с динамической компрессией |
PDF: 67K |
WC501G |
| B3370V |
TO 220-3 |
|
Линейный регулируемый стабилизатор отрицательного напряжения |
PDF: 1.4M |
LM337T |
| B3371V |
TO 220-3 |
|
Линейный регулируемый стабилизатор отрицательного напряжения |
PDF: 1.4M |
LM337HV |
| B340D |
DIL 14 |
|
Транзисторная сборка |
PDF: 106K |
|
| B340S |
SO 14 |
340 / B34* |
Транзисторная сборка |
|
|
| B341D |
DIL 14 |
|
Транзисторная сборка |
PDF: 106K |
|
| B341D |
DIL 14 |
|
Транзисторная сборка |
|
|
| B342D |
DIL 14 |
|
Транзисторная сборка |
PDF: 106K |
|
| B342D |
DIL 14 |
|
Транзисторная сборка |
|
|
| B360D |
DIL 14 |
|
Сборка мощных транзисторов |
|
TPQ2222 |
| B360E |
DIL 12 |
|
Сборка мощных транзисторов |
|
TPQ2222 |
| B360K |
DIL 12 |
|
Сборка мощных транзисторов |
|
TPQ2222 |
| B3718VC |
Multiwatt-15 |
|
Драйвер шагового двигателя |
|
TEA3718 |
| B380D |
DIL 14 |
|
Сборка из 4 биполярных транзисторов |
|
TPQ2221 |
| B380E |
DIL 12 |
|
Сборка из 4 биполярных транзисторов |
|
TPQ2221 |
| B380K |
DIL 12 |
|
Сборка из 4 биполярных транзисторов |
|
TPQ2221 |
| B384D |
DIL 20 |
|
Схема питания (телефон) |
|
|
| B385D |
DIL 16 |
|
Схема проверки линии (телефон) |
|
|
| B386D |
DIL 20 |
|
Схема подачи (телефон) |
|
|
| B3870D |
DIL 28 |
|
Аналоговый процессор для абонентского подключения (телефон) |
|
|
| B390D |
DIL 18 |
|
Регулятор для миниатюрных двигателей постоянного тока |
|
|
| B391D |
DIL 18 |
|
Моторный процессор для кассетных приводов |
PDF: 437K |
|
| B3925DD |
DIL 20 |
|
Моторный процессор для дисководов гибких дисков |
|
|
| Тип | Корпус | Метка | Описание | Даташит | Аналог |
| B40/35-20 |
Metall |
|
Однофазный выпрямительный мост (кремниевые диоды) 40V 20A |
PDF: 520K |
|
| B4002D |
DIL 16 |
|
Драйвер для быстро переключаемых транзисторов |
PDF: 641K |
UAA4002DP |
| B411DD |
DIL 8 |
|
Прецизионный операционный усилитель BiFET |
|
LF411 |
| B4206D |
DIL 16 |
|
Регулятор скорости, управляемый током |
PDF: 858K |
|
| B4207D |
DIL 18 |
|
Регулятор скорости с тахометром |
PDF: 1.1M |
|
| B4211D |
DIL 18 |
|
Регулятор скорости с тахометром, контролирующий фазу (угол поворота |
|
U211 |
| B451G |
SIL 4 |
|
Магниторезистивный (бесконтактный) переключатель (на основе эффекта Холла) |
PDF: 306K |
SAS251 |
| B452G |
SIL 4 |
|
Магниторезистивный (бесконтактный) переключатель (на основе эффекта Холла) |
PDF: 306K |
SAS251S4 |
| B453G |
SIL 4 |
|
Магниторезистивный (бесконтактный) переключатель (на основе эффекта Холла) |
PDF: 306K |
SAS251S5 |
| B460G |
SIL 4 |
|
Датчик Холла с аналоговым выходом |
PDF: 270K |
|
| B461G |
SIL 4 |
B61 |
Бесконтактный переключатель (на основе эффекта Холла) |
PDF: 986K |
SAS261S4 |
| B462G |
SIL 4 |
B62 |
Бесконтактный переключатель (на основе эффекта Холла) |
PDF: 986K |
SAS261 |
| B466GA |
SIL 4 |
|
Датчик Холла для автомобильных систем зажигания |
PDF: 325K |
|
| B467G |
SIL 4 |
|
Линейный датчик Холла |
|
|
| B4761D |
DIL 14 |
|
Операционный усилитель с выходом с открытым коллектором |
PDF: 499K |
TAA4761A |
| B4765D |
DIL 14 |
|
Операционный усилитель с выходом с открытым коллектором |
PDF: 499K |
TAA4765A |
| B511N |
TO 92-2 |
|
Датчик температуры 1 µA/K |
PDF: 111K |
(AD590) |
| B555D |
DIL 8 |
|
Таймер с выходом на 200 mA |
PDF: 222K |
LM555CN |
| B556D |
DIL 14 |
|
Таймер с выходом на 200 mA (2 канала) |
PDF: 222K |
LM556CN |
| B589N |
TO 92-2 |
|
Генератор опорного напряжения 1.235 V |
PDF: 116K |
AD589 |
| B611D |
DIL 6 |
611 |
Операционный усилитель с выходом с открытым коллектором |
PDF: 499K |
TCA311A |
| B615D |
DIL 6 |
615 |
Операционный усилитель с выходом с открытым коллектором |
PDF: 499K |
TCA315A |
| B621D |
DIL 6 |
621 |
Операционный усилитель с выходом с открытым коллектором |
PDF: 499K |
TCA321A |
| B625D |
DIL 6 |
625 |
Операционный усилитель с выходом с открытым коллектором |
PDF: 499K |
TCA325A |
| B631D |
DIL 6 |
631 |
Операционный усилитель с выходом с открытым коллектором |
PDF: 499K |
TCA331A |
| Тип | Корпус | Метка | Описание | Даташит | Аналог |
| B635D |
DIL 6 |
635 |
Операционный усилитель с выходом с открытым коллектором |
PDF: 499K |
TCA335A |
| B654D |
DIL 14 |
|
Драйвер моста сервопривода |
PDF: 94K |
SN2865 |
| B721D |
DIL 18 |
|
4-канальный прецизионный источник тока |
PDF: 256K |
|
| B761D |
DIL 6 |
761 |
Операционный усилитель с выходом с открытым коллектором |
PDF: 499K |
TAA761A |
| B765D |
DIL 6 |
765 |
Операционный усилитель с выходом с открытым коллектором |
PDF: 499K |
TAA765A |
| B80/70-20 |
Metall |
|
Однофазный выпрямительный мост (кремниевые диоды) 80V 20A |
PDF: 520K |
|
| B861D |
DIL 6 |
861 |
Операционный усилитель с выходом с открытым коллектором |
PDF: 499K |
TAA861A |
| B865D |
DIL 6 |
865 |
Операционный усилитель с выходом с открытым коллектором |
PDF: 499K |
TAA865A |
| BSY34 |
TO 39 |
|
Si-транзистор NPN 40V 0.6A 2.6W |
|
BSY34 |
| C500D |
DIL 20 |
|
Аналоговый процессор |
PDF: 903K |
TL500 |
| C501D |
DIL 20 |
|
Аналоговый процессор |
PDF: 903K |
TL501 |
| C502D |
DIL 20 |
|
Цифровая часть процессора с выходом на 7-сегментный индикатор |
PDF: 903K |
TL502 |
| C504D |
DIL 28 |
|
Цифровая часть процессора с BCD-выходом |
PDF: 876K |
|
| C520D |
DIL 16 |
|
Аналого-цифровой преобразователь на 3 разряда, с BCD-выходом |
PDF: 171K |
AD2020 |
| C560C |
DIL 16 |
|
8-битный ЦАП с защелкой |
PDF: 264K |
AD558 |
| C5650C |
DIL 24 |
|
10-битный ЦАП |
PDF: 550K |
|
| C5658C |
DIL 24 |
|
8-битный ЦАП |
PDF: 530K |
|
| C565C |
DIL 24 |
|
12-битный ЦАП |
PDF: 550K |
AD565 |
| C570C |
DIL 18 |
|
8-битный АЦП |
PDF: 768K |
AD570 |
| C571C |
DIL 18 |
|
10-битный АЦП |
PDF: 768K |
AD571 |
| C574C |
DIL 28 |
|
12-битный АЦП с 8-битной шиной данных |
PDF: 535K |
AD574JD |
| C670C |
DIL 18 |
|
8-битный АЦП, выходы с тремя состояниями |
PDF: 327K |
AD673JD |
| C7136D |
DIL 40 |
|
3½-значный АЦП с выходом на ЖКИ |
PDF: 602K |
ICL7136 |
| CM8001 |
DIL 16 |
|
RAM 256 x 1 |
PDF: 181K |
|
| D1... |
|
|
Стандартная логика TTL |
|
SN74... |
| Тип | Корпус | Метка | Описание | Даташит | Аналог |
| D122 |
|
|
Двухканальный усилитель сигналов памяти |
PDF: 274K |
SN7522 |
| D123 |
|
|
Двухканальный усилитель сигналов памяти |
PDF: 274K |
SN7522 |
| D2... |
|
|
Высокоскоростная логика TTL (High Speed TTL) |
|
SN74H... |
| D345 |
DIL 16 |
|
Декодер BCD в 7-сегментный код |
PDF: 399K |
|
| D346 |
DIL 16 |
|
Декодер BCD в 7-сегментный код |
PDF: 399K |
|
| D347 |
DIL 16 |
|
Декодер BCD в 7-сегментный код |
PDF: 399K |
|
| D348 |
DIL 16 |
|
Декодер BCD в 7-сегментный код |
PDF: 399K |
|
| D351 |
DIL 14 |
|
Счетчик-делитель |
PDF: 214K |
|
| D355 |
DIL 18 |
|
Таймер |
PDF: 546K |
|
| D356 |
DIL 18 |
|
Таймер |
PDF: 546K |
|
| D394 |
DIL 18 |
|
Мостовой драйвер |
PDF: 263K |
|
| D395 |
DIL 18 |
|
Микросхема для управления шаговыми двигателями |
PDF: 141K |
|
| D410 |
DIL 14 |
|
Три логических элемента: 4И-НЕ, 3И-НЕ, 2И-НЕ с одним инверсным входом |
PDF: 1M |
SAA1029 |
| D461 |
DIL 14 |
|
2 логических элемента 2И-НЕ с преобразованием уровней TTL - MOS |
PDF: 605K |
SN75361 |
| D4803 |
DIL 18 |
|
8-канальный драйвер |
PDF: 389K |
ULN2803 |
| D4813 |
DIL 18 |
|
8-канальный драйвер |
|
ULN2813 |
| D4823 |
DIL 18 |
|
8-канальный драйвер |
|
ULN2823 |
| D491 |
DIL 14 |
|
4 транзисторных драйвера |
PDF: 91K |
|
| D492 |
DIL 14 |
|
6-канальный цифровой драйвер |
PDF: 144K |
SN75492 |
| D4981 |
DIL 18 |
|
8-канальный драйвер |
|
UDN2981 |
| D4983 |
DIL 18 |
|
8-канальный драйвер |
|
UDN2983 |
| D6221 |
SIP 15 |
|
4-канальный биполярный драйвер |
|
|
| D716X |
Chip 28 |
|
Микросхема для управления термопечатающей головкой |
PDF: 596K |
|
| D718D |
DIL 24 |
|
Драйвер для управления 16 светодиодами |
PDF: 448K |
UAA2022 |
| DA4071 |
|
|
Гибридный, 16-битный ЦАП |
PDF: 572K |
|
| Тип | Корпус | Метка | Описание | Даташит | Аналог |
| DAC32 |
|
|
Гибридный 10/12-разрядный ЦАП |
|
|
| DL... |
|
|
Маломощная логика Шоттки TTL |
|
SN74LS... |
| DL2631 |
DIL 16 |
|
V.11 драйвер-усилитель цифровых сигналов |
PDF: 570K |
AM26LS31 |
| DL2632 |
DIL 16 |
|
V.11 приемник-буфер цифровых сигналов |
PDF: 570K |
AM26LS32, КР559ИП11 |
| DL75113 |
DIL 16 |
|
Передатчик в линию |
|
|
| DL8121 |
DIL 20 |
|
8-разрядный компаратор |
PDF: 286K |
AMZ8121 |
| DL8127 |
DIL 24 |
|
Системный тактовый генератор |
PDF: 716K |
AM8127 |
| DL8136 |
DIL 20 |
|
8-разрядный декодер |
|
AMZ8136 |
| DL8640 |
DIL 14 |
|
4-разрядный приемник шины |
|
|
| DL8641 |
DIL 16 |
|
4-разрядный приемник/драйвер шины |
|
|
| DS2510 |
DIL 16 |
|
4-разрядный регистр сдвига |
|
|
| DS2610 |
DIL 16 |
|
4-канальный приемник и передатчик шины |
|
|
| DS80612 |
DIL 18 |
|
Тактовый генератор |
|
|
| DS8205 |
DIL 16 |
|
Двоичный декодер 3 двоичных разряда в 8 выходов |
PDF: 225K |
|
| DS8212 |
DIL 24 |
|
8-разрядный драйвер с памятью |
PDF: 454K |
|
| DS8216 |
DIL 16 |
|
4-разрядный двунаправленный драйвер шины |
PDF: 541K |
|
| DS8282 |
DIL 20 |
|
8-разрядный драйвер шины с памятью |
PDF: 364K |
|
| DS8283 |
DIL 20 |
|
8-разрядный драйвер шины с памятью |
PDF: 364K |
|
| DS8286 |
DIL 20 |
|
8-разрядный двунаправленный драйвер шины |
PDF: 167K |
|
| DS8287 |
DIL 20 |
|
8-разрядный двунаправленный драйвер шины |
PDF: 167K |
|
| DS8601 |
DIL 20 |
|
Микросхема для организации DMA |
|
|
| DS8609 |
DIL 40 |
|
Преобразователь последовательного кода в параллельный |
|
|
| DS8638 |
DIL 20 |
|
8-разрядный двунаправленный драйвер шины |
|
|
| E1... |
|
|
Стандартная логика TTL |
|
SN54... |
| E2... |
|
|
Высокоскоростная логика TTL |
|
SN54H... |
| Тип | Корпус | Метка | Описание | Даташит | Аналог |
| E310 |
DIL 16 |
|
Схема управления лампами накаливания |
PDF: 187K |
|
| E351 |
DIL 14 |
|
Счетчик-делитель |
PDF: 214K |
|
| E355 |
DIL 18 |
|
Таймер |
PDF: 546K |
|
| E356 |
DIL 18 |
|
Таймер |
PDF: 546K |
|
| E412 |
DIL 18 |
|
Логический 3-разрядный драйвер, выходы с тремя состояниями |
PDF: 520K |
|
| E435 |
DIL 12 |
|
Логический драйвер |
PDF: 394K |
PZL135S |
| FAR.. |
|
|
ЖКИ индикаторы |
|
|
| FAR03A |
30 |
|
8 цифр с днями недели |
|
|
| FAR04A |
28 |
|
8 цифр |
|
|
| FAR06A |
33 |
|
8 цифр с экспонентой |
|
|
| FAR08A |
30 |
|
8 цифр с днями недели |
|
|
| FAR09A |
37 |
|
3 ½ цифры с единицами измерения |
|
|
| FAR11A |
26 |
|
3 ½ цифры с маленькими секундами |
|
|
| FAR50A |
|
|
Дисплей LC-мультиметра |
|
|
| FAT.. |
|
|
Трансмиссивные ЖКИ |
|
|
| FAT02B |
48 |
|
3¾ цифры (часы) с маленькими секундами и днями недели внизу |
|
|
| FAT07B |
26 |
|
3¾ цифры (часы) |
|
|
| FAT12B |
48 |
|
3¾ цифры (часы) с маленькими секундами и днями недели вверху |
|
|
| GA100 |
DO 7 |
|
Германиевый диод 20V 20mA |
PDF: 970K |
AA131 |
| GA101 |
DO 7 |
|
Германиевый диод 40V 15mA |
PDF: 970K |
AA119 |
| GA102 |
DO 7 |
|
Германиевый диод 60V 12mA |
PDF: 970K |
AA134 |
| GA103 |
DO 7 |
|
Германиевый диод 80V 10mA |
PDF: 970K |
|
| GA104 |
DO 7 |
|
Германиевый диод 110V 10 mA |
|
AA117 |
| GA105 |
DO 7 |
|
Германиевый диод 20V 20 mA |
|
AA130 |
| GA106 |
DO 7 |
|
Германиевый диод 25V 20 mA |
|
|
| Тип | Корпус | Метка | Описание | Даташит | Аналог |
| GA107 |
DO 7 |
|
Германиевый диод 60V 20 mA |
|
|
| GA108 |
DO 7 |
|
Германиевый диод 80V 20 mA |
|
|
| GAY60 |
DO 7 |
|
Германиевый диод 20V 75 mA |
PDF: 138K |
|
| GAY61 |
DO 7 |
|
Германиевый диод 20V 100 mA |
PDF: 138K |
FD4 |
| GAY62 |
DO 7 |
|
Германиевый диод 20V 100 mA |
PDF: 138K |
FD7 |
| GAY63 |
DO 7 |
|
Германиевый диод 40V 100 mA |
PDF: 138K |
|
| GAY64 |
DO 7 |
|
Германиевый диод 80V 75 mA |
PDF: 138K |
|
| GAZ14 |
DO 7 |
|
Германиевый диод 25V 20 mA |
|
|
| GAZ15 |
|
|
Германиевый диод 25V 20 mA |
|
|
| GAZ16 |
DO 7 |
|
Германиевый диод 25V 20 mA |
|
|
| GAZ17 |
DO 7 |
|
Германиевый диод 25V 20 mA |
PDF: 152K |
|
| GC100 |
TO-1 |
|
Германиевый транзистор PNP 10V 15 mA 30 mW |
PDF: 61K |
|
| GC101 |
TO-1 |
|
Германиевый транзистор PNP 10V 15 mA 30 mW |
PDF: 57K |
|
| GC112 |
TO-1 |
|
Германиевый транзистор PNP 80V 150 mA |
PDF: 65K |
|
| GC115 |
TO-18 |
|
Германиевый транзистор PNP 20V 50 mA |
|
|
| GC116 |
TO-1 |
|
Германиевый транзистор PNP 20V 150 mA |
PDF: 366K |
AC116 |
| GC117 |
TO-1 |
|
Германиевый транзистор PNP 20V 150 mA |
PDF: 363K |
AC150 |
| GC118 |
TO-1 |
|
Германиевый транзистор PNP 20V 150 mA |
PDF: 363K |
AC160 |
| GC120 |
TO-18 |
|
Германиевый транзистор PNP 20V 150 mA |
|
|
| GC121 |
TO-1 |
|
Германиевый транзистор PNP 20V 250 mA |
PDF: 373K |
AC123 |
| GC122 |
TO-1 |
|
Германиевый транзистор PNP 33V 250 mA |
PDF: 365K |
AC170 |
| GC123 |
TO-1 |
|
Германиевый транзистор PNP 66V 250 mA |
PDF: 361K |
AC170 |
| GC301 |
TO-1 |
|
Германиевый транзистор PNP 32V 1A |
PDF: 378K |
AC131 |
| GD100 |
TO-66 |
|
Германиевый транзистор PNP 20V 1.3A 2W 100kHz |
PDF: 113K |
|
| GD110 |
TO-66 |
|
Германиевый транзистор PNP 20V 1.3A 2W 200kHz |
PDF: 126K |
|
| Тип | Корпус | Метка | Описание | Даташит | Аналог |
| GD120 |
TO-66 |
|
Германиевый транзистор PNP 33V 1.3A 2W 200kHz |
PDF: 113K |
|
| GD125 |
TO-66 |
|
Германиевый транзистор PNP 66V 1.3A 2W 200kHz |
PDF: 126K |
|
| GD130 |
TO-66 |
|
Германиевый транзистор PNP 66V 1.3A 2W 200kHz |
PDF: 123K |
|
| GD150 |
TO-66 |
|
Германиевый транзистор PNP 20V 3A 5W 200kHz |
PDF: 130K |
|
| GD160 |
TO-66 |
|
Германиевый транзистор PNP 18V 3A 5.3W |
PDF: 262K |
|
| GD170 |
TO-66 |
|
Германиевый транзистор PNP 30V 3A 5.3W |
PDF: 262K |
AD162 |
| GD175 |
TO-66 |
|
Германиевый транзистор PNP 48V 3A 5.3W |
PDF: 263K |
AD155 |
| GD180 |
TO-66 |
|
Германиевый транзистор PNP 60V 3A 5.3W |
PDF: 261K |
AD152 |
| GD240 |
TO-66 |
|
Германиевый транзистор PNP 25V 3A 10W |
PDF: 237K |
|
| GD241 |
TO-66 |
|
Германиевый транзистор PNP 35V 3A 10W |
PDF: 252K |
AD138 |
| GD242 |
TO-66 |
|
Германиевый транзистор PNP 48V 3A 10W |
PDF: 253K |
AUY26 |
| GD243 |
TO-66 |
|
Германиевый транзистор PNP 60V 3A 10W |
PDF: 251K |
|
| GD244 |
TO-66 |
|
Германиевый транзистор PNP 70V 3A 10W |
PDF: 252K |
|
| GE115 |
|
|
Германиевый туннельный диод 1 mA с монтажными лепестками |
|
|
| GE116 |
|
|
Германиевый туннельный диод 1 mA |
|
|
| GE117 |
|
|
Германиевый туннельный диод 10 mA с монтажными лепестками |
|
|
| GE118 |
|
|
Германиевый туннельный диод 10 mA |
|
|
| GE123 |
|
|
Германиевый туннельный диод 1 mA с монтажными лепестками |
|
|
| GE124 |
|
|
Германиевый туннельный диод 1 mA |
|
|
| GE125 |
|
|
Германиевый туннельный диод 10 mA с монтажными лепестками |
|
|
| GE126 |
|
|
Германиевый туннельный диод 10 mA |
|
|
| GF100 |
TO |
|
Германиевый транзистор PNP 10V 15 mA |
PDF: 57K |
OC44 |
| GF105 |
TO |
|
Германиевый транзистор PNP 10V 15 mA |
PDF: 58K |
OC45 |
| GF105 |
TO |
|
Германиевый транзистор PNP 10V 15 mA |
PDF: 58K |
OC45 |
| GF120 |
TO-18 |
|
Германиевый транзистор PNP 15V 10 mA 10 МГц |
|
AF105 |
| GF121 |
TO-18 |
|
Германиевый транзистор PNP 15V 10 mA 25 МГц |
|
AF136 |
| Тип | Корпус | Метка | Описание | Даташит | Аналог |
| GF122 |
TO-18 |
|
Германиевый транзистор PNP 15V 10 mA 30 МГц |
|
AF116 |
| GF126 |
TO |
|
Германиевый транзистор PNP 25V 10 mA 10 МГц |
PDF: 216K |
|
| GF128 |
TO |
|
Германиевый транзистор PNP 25V 10 mA 100 МГц |
PDF: 65K |
AF126 |
| GF130 |
TO |
|
Германиевый транзистор PNP 25V 10 mA 10 МГц |
PDF: 178K |
AF127 |
| GF131 |
TO |
|
Германиевый транзистор PNP 25V 10 mA 100 МГц |
PDF: 254K |
AF125 |
| GF132 |
TO |
|
Германиевый транзистор PNP 25V 10 mA 100 МГц |
PDF: 184K |
AF124 |
| GF139 |
TO |
|
Германиевый транзистор PNP 25V 10 mA 10 МГц |
PDF: 211K |
|
| GF145 |
TO-72 |
|
Германиевый транзистор PNP 20V 10 mA 860 МГц |
PDF: 391K |
AF139 |
| GF146 |
TO-72 |
|
Германиевый транзистор PNP 20V 10 mA 260 МГц |
PDF: 9572K |
|
| GF147 |
TO-72 |
|
Германиевый транзистор PNP 20V 10 mA 900 МГц |
PDF: 159K |
|
| GF180 |
TO-72 |
|
Германиевый транзистор PNP 20V 10 mA 10 МГц |
|
|
| GF181 |
TO |
|
Германиевый транзистор PNP 25V 10 mA 100 МГц |
PDF: 195K |
|
| GP119 |
Линза |
|
Германиевый фотодиод 20V 30 mW 70µA |
|
|
| GP120 |
Линза |
|
Германиевый фотодиод 20V 30 mW 125µA |
|
|
| GP121 |
Линза |
|
Германиевый фотодиод 50V 30 mW 70µA |
|
|
| GP122 |
Линза |
|
Германиевый фотодиод 50V 30 mW 125µA |
|
|
| GS109 |
TO-1 |
|
Германиевый транзистор PNP 20V 50 mA |
PDF: 83K |
|
| GS111 |
TO-1 |
|
Германиевый транзистор PNP 20V 200 mA 1,2µs |
PDF: 68K |
|
| GS112 |
TO-1 |
|
Германиевый транзистор PNP 20V 200 mA 0,9µs |
PDF: 68K |
|
| GS121 |
TO-1 |
|
Германиевый транзистор PNP 20V 100 mA |
PDF: 143K |
|
| GS122 |
TO-1 |
|
Германиевый транзистор PNP 20V 100 mA |
PDF: 164K |
|
| GY099 |
DO 1 |
|
Германиевый выпрямительный диод 12V 0.1A |
|
|
| GY100 |
DO 1 |
|
Германиевый выпрямительный диод 24V 0.1A |
|
|
| GY101 |
DO 1 |
|
Германиевый выпрямительный диод 40V 0.1A |
|
|
| GY102 |
DO 1 |
|
Германиевый выпрямительный диод 75V 0.1A |
|
|
| Тип | Корпус | Метка | Описание | Даташит | Аналог |
| GY104 |
DO 1 |
|
Германиевый выпрямительный диод 150V 0.1A |
|
|
| GY105 |
DO 1 |
|
Германиевый выпрямительный диод 200V 0.1A |
|
|
| GY109 |
DO |
|
Германиевый выпрямительный диод 12V 1A |
|
|
| GY110 |
DO |
|
Германиевый выпрямительный диод 24V 1A |
|
|
| GY111 |
DO |
|
Германиевый выпрямительный диод 40V 1A |
|
|
| GY112 |
DO |
|
Германиевый выпрямительный диод 75V 1A |
|
|
| GY113 |
DO |
|
Германиевый выпрямительный диод 100V 1A |
|
|
| GY114 |
DO |
|
Германиевый выпрямительный диод 150V 1A |
|
|
| GY115 |
DO |
|
Германиевый выпрямительный диод 200V 1A |
|
|
| GY120 |
DO |
|
Германиевый выпрямительный диод 20V 10A |
|
|
| GY121 |
DO |
|
Германиевый выпрямительный диод 40V 10A |
|
|
| GY122 |
DO |
|
Германиевый выпрямительный диод 65V 10A |
|
|
| GY123 |
DO |
|
Германиевый выпрямительный диод 100V 10A |
|
|
| GY124 |
DO |
|
Германиевый выпрямительный диод 150V 10A |
|
|
| GY125 |
DO |
|
Германиевый выпрямительный диод 200V 10A |
|
|
| IA338D |
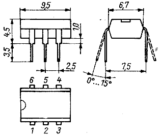
DIL 16 |
|
Функциональный генератор, управляемый напряжением |
PDF: 313K |
|
| INA30 |
|
|
Гибридная микросхема, инструментальный усилитель |
PDF: 326K |
|
| INA52 |
|
|
Гибридная микросхема, инструментальный усилитель |
PDF: 326K |
|
| ISA30 |
|
|
Развязывающий усилитель, гибридная микросхема |
|
|
| L110 |
DIL 18 |
|
CCD строка (сенсор) 256 пикселей |
PDF: 519K |
CCD110 |
| L133 |
DIL 24 |
|
CCD строка (сенсор) 1024 пикселя |
PDF: 859K |
CCD133 |
| L143C |
DIL 24 |
|
CCD строка (сенсор) 2048 пикселя |
PDF: 343K |
|
| L172C |
DIL 24 |
|
CCD строка (сенсор) 512 пикселей |
PDF: 374K |
|
| L211 |
DIL 24 |
|
CCD матрица (сенсор) 190 x 244 пикселей |
|
|
| Тип | Корпус | Метка | Описание | Даташит | Аналог |
| L220 |
DIL 24 |
|
CCD матрица (сенсор) 512 x 576 пикселей |
|
|
| LC815 |
|
|
Германиевый PNP транзистор 10V 50mA |
|
|
| LC824 |
|
|
Германиевый PNP транзистор 10V 150mA |
|
|
| LF871 |
|
|
Германиевый PNP транзистор 10V 15mA |
PDF: 87K |
|
| LF880 |
|
|
Германиевый PNP транзистор 10V 10mA 2МГц |
PDF: 87K |
|
| LF881 |
|
|
Германиевый PNP транзистор 10V 10mA 10МГц |
PDF: 87K |
|
| MB101 |
(opto) |
|
GaAs-LED + Si-NPN-фототранзистор |
PDF: 70K |
CNY21 |
| MB102 |
(opto) |
|
GaAs-LED + Si-NPN-фототранзистор |
PDF: 319K |
|
| MB104 |
DIL 6 |
|
IR-LED + Si-NPN-фототранзистор |
PDF: 80K |
CNY17 |
| MB105 |
DIL 6 |
|
IR-LED + Si-NPN-фототранзистор |
PDF: 195K |
CNY75 |
| MB106 |
(opto) |
|
GaAs-LED + Si-NPN-фототранзистор |
PDF: 433K |
CNY21 |
| MB110 |
DIL 6 |
|
GaAs-LED + Si-фотодиод |
PDF: 76K |
MCD2 |
| MB111 |
DIL 8 |
|
GaAs-LED + Si-фотодиод + TTL-усилитель |
|
MCL611 |
| MB123 |
(opto) |
|
Открытая оптопара с пазом, GaAs-LED + Si-фототранзистор |
|
TIL138 |
| MB125 |
(opto) |
|
Отражательная оптопара, GaAs-LED + Si-фототранзистор |
|
SFH900 |
| MB126 |
3 |
|
Отражательная оптопара, GaAs-LED + Si-фототранзистор |
PDF: 178K |
SFH900 |
| MB130 |
DIL 6 |
|
IR-LED + Si-NPN-фототранзистор |
PDF: 373K |
|
| MB131 |
DIL 6 |
|
IR-LED + Si-NPN-фототранзистор |
PDF: 373K |
|
| MB132 |
DIL 6 |
|
IR-LED + Si-NPN-фототранзистор |
PDF: 373K |
SFH600 |
| MB133 |
DIL 6 |
|
IR-LED + Si-NPN-фототранзистор |
PDF: 373K |
CNY17 |
| MB134 |
DIL 6 |
|
IR-LED + Si-NPN-фототранзистор |
PDF: 373K |
CNY17 |
| MB135 |
DIL 6 |
|
IR-LED + Si-NPN-фототранзистор |
PDF: 373K |
SFH609 |
| MDD16 |
DO 240 |
|
Диодный модуль Si 100V...1600V 16A |
PDF: 188K |
|
| MDD25 |
DO 240 |
|
Диодный модуль Si 100V...1600V 25A |
PDF: 188K |
|
| MDD40 |
DO 240 |
|
Диодный модуль Si 100V...1600V 40A |
PDF: 188K |
|
| Тип | Корпус | Метка | Описание | Даташит | Аналог |
| MDD63 |
DO 240 |
|
Диодный модуль Si 100V...1600V 63A |
PDF: 327K |
|
| MQE10 |
(opto) |
|
7-сегментный LED-индикатор, 3 разряда |
|
|
| MQH200 |
(opto) |
|
Линейка из 24 зеленых светодиодов |
PDF: 259K |
|
| O4A657 |
Plast |
|
4 германиевых диода 40V 15 mA |
|
|
| OA601 |
Патрон |
|
Германиевый диод 5V 15mA 3.5 ГГц |
|
|
| OA602 |
Патрон |
|
Германиевый диод 5V 15mA 3.5 ГГц |
|
|
| OA603 |
Патрон |
|
Германиевый диод 10V 20mA 3.5 ГГц |
|
|
| OA604 |
Патрон |
|
Германиевый диод 10V 20mA 3.5 ГГц |
|
|
| OA605 |
Патрон |
|
Германиевый диод 20V 20mA 3.5 ГГц |
|
|
| OA625 |
DO 7 |
|
Германиевый диод 20V 20mA |
PDF: 970K |
|
| OA626 |
DO 7 |
|
Германиевый диод 20V 20 mA |
|
|
| OA645 |
DO 7 |
|
Германиевый диод 40V 15mA |
PDF: 970K |
|
| OA647 |
DO 7 |
|
Германиевый диод 25V 20 mA |
|
|
| OA665 |
DO 7 |
|
Германиевый диод 60V 12mA |
PDF: 970K |
|
| OA666 |
DO 7 |
|
Германиевый диод 60V 20 mA |
|
|
| OA685 |
DO 7 |
|
Германиевый диод 80V 10mA |
PDF: 970K |
|
| OA686 |
DO 7 |
|
Германиевый диод 80V 20 mA |
|
|
| OA705 |
DO 7 |
|
Германиевый диод 110V 10 mA |
|
|
| OA720 |
|
|
Германиевый диод 20V 50mA |
PDF: 138k |
|
| OA721 |
|
|
Германиевый диод 20V 75mA |
PDF: 138k |
|
| OA741 |
|
|
Германиевый диод 40V 75mA |
PDF: 138k |
|
| OA780 |
|
|
Германиевый диод 80V 50mA |
PDF: 138k |
|
| OA900 |
|
|
Si-диод 25V 100mA |
|
|
| OA901 |
|
|
Si-диод 50V 100mA |
|
|
| OA902 |
|
|
Si-диод 75V 100mA |
|
|
| Тип | Корпус | Метка | Описание | Даташит | Аналог |
| OA903 |
|
|
Si-диод 150V 100mA |
|
|
| OA904 |
|
|
Si-диод 250V 100mA |
|
|
| OA905 |
|
|
Si-диод 350V 100mA |
|
|
| S114 |
DIL 10 |
|
Микросхема таймера для кварца 4.19 МГц типа Bastler U114 |
PDF: 710K |
|
| SA403 |
DO |
красная точка |
Переключательный Si-диод 25V 30mA |
|
|
| SA412 |
DO |
желтая точка |
Переключательный Si-диод 20V 80mA |
|
BA177 |
| SA415 |
|
|
Переключательный Si-диод 50V 100mA |
|
BA218 |
| SA418 |
DO |
зеленая точка |
Переключательный Si-диод 80V 100mA |
|
BAY61 |
| SAL41 |
|
41 |
Двойной Si-диод 20V 20mA |
|
|
| SAL43 |
|
43 |
Сборка Si-диодов 20V 20mA |
|
|
| SAL45 |
|
45 |
Сборка Si-диодов 20V 20mA |
|
|
| SAM42 |
|
42M. |
Двойной Si-диод 20V 20mA |
PDF: 80K |
|
| SAM43 |
|
43M. |
Сборка Si-диодов 20V 20mA |
PDF: 80K |
|
| SAM44 |
|
44M. |
Сборка Si-диодов 20V 20mA |
PDF: 80K |
|
| SAM45 |
|
45M. |
Сборка Si-диодов 20V 20mA |
PDF: 80K |
|
| SAM62 |
|
62M. |
Двойной Si-диод 20V 20mA |
PDF: 105K |
|
| SAM63 |
|
63M. |
Сборка Si-диодов 20V 20mA |
PDF: 105K |
|
| SAM64 |
|
64M. |
Сборка Si-диодов 20V 20mA |
PDF: 105K |
|
| SAM65 |
|
65M. |
Сборка Si-диодов 20V 20mA |
PDF: 105K |
|
| SAX32 |
|
|
Двойной Si-диод 25V 30mA |
|
|
| SAX33 |
|
|
Сборка Si-диодов 25V 30mA |
|
|
| SAX34 |
|
|
Сборка Si-диодов 25V 30mA |
|
|
| SAX35 |
|
|
Сборка Si-диодов 25V 30mA |
|
|
| SAX36 |
|
|
Сборка Si-диодов 25V 30mA |
|
|
| SAX42 |
|
|
Двойной Si-диод 15V 30mA |
|
|
| Тип | Корпус | Метка | Описание | Даташит | Аналог |
| SAX43 |
|
|
Сборка Si-диодов 15V 30mA |
|
|
| SAX44 |
|
|
Сборка Si-диодов 15V 30mA |
|
|
| SAX45 |
|
|
Сборка Si-диодов 15V 30mA |
|
|
| SAX46 |
|
|
Сборка Si-диодов 15V 30mA |
|
|
| SAX52 |
|
|
Двойной Si-диод 25V 50mA |
|
|
| SAX53 |
|
|
Сборка Si-диодов 25V 50mA |
|
|
| SAX54 |
|
|
Сборка Si-диодов 25V 50mA |
|
|
| SAX55 |
|
|
Сборка Si-диодов 25V 50mA |
|
|
| SAX56 |
|
|
Сборка Si-диодов 25V 50mA |
|
|
| SAX62 |
|
|
Двойной Si-диод 15V 30mA |
|
|
| SAX63 |
|
|
Сборка Si-диодов 15V 30mA |
|
|
| SAX64 |
|
|
Сборка Si-диодов 15V 30mA |
|
|
| SAX65 |
|
|
Сборка Si-диодов 15V 30mA |
|
|
| SAX66 |
|
|
Сборка Si-диодов 15V 30mA |
|
|
| SAY10 |
|
4 красные полоски |
Переключательный Si-диод 50V 175mA |
PDF: 111K |
|
| SAY11 |
|
3 красные полоски, 1 желтая |
Переключательный Si-диод 50V 175mA |
PDF: 111K |
|
| SAY12 |
Miniplast |
оранжевая метка |
Переключательный Si-диод 50V 300mA |
|
BAY42 |
| SAY14 |
|
3 красных полоски, 1 синяя |
Переключательный Si-диод 25V 115mA |
PDF: 121K |
|
| SAY15 |
|
3 красных полоски, 1 черная |
Переключательный Si-диод 15V 75mA |
PDF: 121K |
|
| SAY16 |
Miniplast |
зеленая точка |
Переключательный Si-диод 30V 300mA |
|
BAY41 |
| SAY17 |
Miniplast |
красная точка |
Переключательный Si-диод 50V 175mA |
|
BA147 |
| SAY18 |
Miniplast |
желтая точка |
Переключательный Si-диод 25V 115mA |
|
BA147 |
| SAY20 |
Miniplast |
синяя метка |
Переключательный Si-диод 15V 75mA |
|
BAY93 |
| SAY30 |
Miniplast |
30Y. |
Переключательный Si-диод 25V 30mA |
PDF: 81K |
BA216 |
| SAY32 |
Miniplast |
32Y. |
Переключательный Si-диод 25V 50mA |
PDF: 81K |
BA217 |
| Тип | Корпус | Метка | Описание | Даташит | Аналог |
| SAY40 |
Miniplast |
40Y. |
Переключательный Si-диод 15V 20mA |
PDF: 81K |
BA116 |
| SAY42 |
Miniplast |
42Y. |
Переключательный Si-диод 15V 30mA |
PDF: 81K |
BAY52 |
| SAY50 |
Miniplast |
|
Двойной Si-диод 25V 30mA |
PDF: 50K |
|
| SAY52 |
Miniplast |
|
Двойной Si-диод 25V 50mA |
PDF: 60K |
|
| SAY60 |
Miniplast |
|
Двойной Si-диод 15V 20mA |
|
|
| SAY62 |
Miniplast |
|
Двойной Si-диод 15V 30mA |
|
|
| SAY73 |
Miniplast |
Белая метка |
Переключательный Si-диод 50V 300mA |
|
BAY42 |
| SAZ12 |
|
|
Si-диод 18V 300mW 10ГГц |
|
|
| SAZ13 |
|
|
Si-диод 18V 300mW 20ГГц |
|
|
| SAZ54 |
|
|
Si-варикап 90V 6W |
PDF: 66K |
|
| SAZ61 |
|
|
Si-варикап 60V 1.5W |
PDF: 56K |
|
| SAZ71 |
|
|
Si-варикап 30V 1W |
PDF: 41K |
|
| SC116 |
TO 18 |
|
Si-транзистор PNP 20V 0.1A 0,3W |
|
|
| SC117 |
TO 18 |
|
Si-транзистор PNP 30V 0.1A 0,3W |
|
|
| SC118 |
TO 18 |
|
Si-транзистор PNP 60V 0.1A 0,3W |
|
|
| SC119 |
TO 18 |
|
Si-транзистор PNP 80V 0.1A 0,3W |
|
|
| SC206 |
Miniplast |
красная и ярко синяя точки |
Si-транзистор NPN 20V 0.1A 0.2W |
PDF: 127K |
BC148 |
| SC207 |
Miniplast |
красная и желтая точки |
Si-транзистор NPN 20V 0.1A 0.2W |
PDF: 127K |
BC149 |
| SC236 |
Miniplast |
C36 |
Si-транзистор NPN 20V 0.1A 0.2W |
PDF: 137K |
|
| SC237 |
Miniplast |
C37 |
Si-транзистор NPN 45V 0.1A 0.2W |
PDF: 137K |
BC237 |
| SC238 |
Miniplast |
C38 |
Si-транзистор NPN 20V 0.1A 0.2W |
PDF: 137K |
BC238 |
| SC239 |
Miniplast |
C39 |
Si-транзистор NPN 80V 0.1A 0.2W |
PDF: 137K |
BC239 |
| SC307 |
Miniplast |
307 |
Si-транзистор PNP 45V 0.1A 0.2W |
PDF: 106K |
BC307 |
| SC308 |
Miniplast |
308 |
Si-транзистор PNP 20V 0.1A 0.2W |
PDF: 106K |
BC308 |
| SC309 |
Miniplast |
309 |
Si-транзистор PNP 80V 0.1A 0.2W |
PDF: 106K |
BC309 |
| Тип | Корпус | Метка | Описание | Даташит | Аналог |
| SCE237 |
SOT 23 |
B[D/E] |
Si-транзистор NPN 45V 0.1A 0.2W |
PDF: 539K |
BC847 |
| SCE238 |
SOT 23 |
C[D/E] |
Si-транзистор NPN 20V 0.1A 0.2W |
PDF: 539K |
BC848 |
| SCE239 |
SOT 23 |
D[D/E/F] |
Si-транзистор NPN 80V 0.1A 0.2W |
PDF: 539K |
BC849 |
| SCE307 |
SOT 23 |
N[C/D/E] |
Si-транзистор PNP 45V 0.1A 0.2W |
PDF: 717K |
BC857 |
| SCE308 |
SOT 23 |
O[C/D/E] |
Si-транзистор PNP 20V 0.1A 0.2W |
PDF: 717K |
BC858 |
| SCE309 |
SOT 23 |
P[C/D/E] |
Si-транзистор PNP 80V 0.1A 0.2W |
PDF: 717K |
BC859 |
| SCE535 |
SOT 89 |
B[A/B/C/D] |
Si-транзистор NPN 45V 1A 0,8W |
|
BCX54 |
| SCE536 |
SOT 89 |
A[A/B/C/D] |
Si-транзистор PNP 45V 1A 0,8W |
|
BCX51 |
| SCE537 |
SOT 89 |
B[E/F/G/M] |
Si-транзистор NPN 60V 1A 0,8W |
|
BCX55 |
| SCE538 |
SOT 89 |
A[E/F/G/M] |
Si-транзистор PNP 60V 1A 0,8W |
|
BCX52 |
| SCE539 |
SOT 89 |
B[H/I/K/L] |
Si-транзистор NPN 80V 1A 0,8W |
|
BCX56 |
| SCE540 |
SOT 89 |
A[H/I/K/L] |
Si-транзистор PNP 80V 1A 0,8W |
|
BCX53 |
| SD168 |
TO 3 |
|
Si-транзистор NPN 300V 3A 12.5W |
PDF: 49K |
|
| SD335 |
TO 126 |
|
Si-транзистор NPN 45V 1.5A 12.5W |
PDF: 247K |
BD135 |
| SD336 |
TO 126 |
|
Si-транзистор PNP 45V 1.5A 12.5W |
PDF: 88K |
BD136 |
| SD337 |
TO 126 |
|
Si-транзистор NPN 60V 1.5A 12.5W |
PDF: 247K |
BD137 |
| SD338 |
TO 126 |
|
Si-транзистор PNP 60V 1.5A 12.5W |
PDF: 88K |
BD138 |
| SD339 |
TO 126 |
|
Si-транзистор NPN 80V 1.5A 12.5W |
PDF: 247K |
BD139 |
| SD340 |
TO 126 |
|
Si-транзистор PNP 80V 1.5A 12.5W |
PDF: 88K |
BD140 |
| SD345 |
TO 126 |
|
Si-транзистор NPN 45V 3A 20W |
PDF: 161K |
BD233 |
| SD346 |
TO 126 |
|
Si-транзистор PNP 45V 3A 20W |
PDF: 231K |
BD234 |
| SD347 |
TO 126 |
|
Si-транзистор NPN 60V 3A 20W |
PDF: 161K |
BD235 |
| SD348 |
TO 126 |
|
Si-транзистор PNP 60V 3A 20W |
PDF: 231K |
BD236 |
| SD349 |
TO 126 |
|
Si-транзистор NPN 80V 3A 20W |
PDF: 161K |
BD237 |
| SD350 |
TO 126 |
|
Si-транзистор PNP 80V 3A 20W |
PDF: 231K |
BD238 |
| Тип | Корпус | Метка | Описание | Даташит | Аналог |
| SD401 |
TO 220 |
|
Si-транзистор NPN 45V 10A 90W |
|
|
| SD402 |
TO 220 |
|
Si-транзистор PNP 45V 10A 90W |
|
|
| SD403 |
TO 220 |
|
Si-транзистор NPN 60V 10A 90W |
|
|
| SD404 |
TO 220 |
|
Si-транзистор PNP 60V 10A 90W |
|
|
| SD405 |
TO 220 |
|
Si-транзистор NPN 80V 10A 90W |
|
|
| SD406 |
TO 220 |
|
Si-транзистор PNP 80V 10A 90W |
|
|
| SD407 |
TO 220 |
|
Si-транзистор NPN 100V 10A 90W |
|
|
| SD408 |
TO 220 |
|
Si-транзистор PNP 100V 10A 90W |
|
|
| SD409 |
TO 220 |
|
Si-транзистор NPN 120V 10A 90W |
|
|
| SD410 |
TO 220 |
|
Si-транзистор PNP 120V 10A 90W |
|
|
| SD451 |
TO 220 |
|
Составной Si-транзистор NPN 45V 10A 90W |
|
|
| SD452 |
TO 220 |
|
Составной Si-транзистор PNP 45V 10A 90W |
|
|
| SD453 |
TO 220 |
|
Составной Si-транзистор NPN 60V 10A 90W |
|
|
| SD454 |
TO 220 |
|
Составной Si-транзистор PNP 60V 10A 90W |
|
|
| SD455 |
TO 220 |
|
Составной Si-транзистор NPN 80V 10A 90W |
|
|
| SD456 |
TO 220 |
|
Составной Si-транзистор PNP 80V 10A 90W |
|
|
| SD457 |
TO 220 |
|
Составной Si-транзистор NPN 100V 10A 90W |
|
|
| SD458 |
TO 220 |
|
Составной Si-транзистор PNP 100V 10A 90W |
|
|
| SD459 |
TO 220 |
|
Составной Si-транзистор NPN 120V 10A 90W |
|
|
| SD460 |
TO 220 |
|
Составной Si-транзистор PNP 120V 10A 90W |
|
|
| SD600 |
TO 3 |
|
Si-транзистор NPN 80V 3A 10W |
|
|
| SD601 |
TO 3 |
|
Si-транзистор NPN 50V 3A 10W |
|
|
| SD602 |
TO 3 |
|
Si-транзистор NPN 80V 3A 10W |
|
|
| SD802 |
TO 3 |
|
Si-транзистор NPN 100V 5A 50W |
|
|
| SD812 |
TO 3 |
|
Si-транзистор NPN 200V 4A 50W |
PDF: 155K |
|
| Тип | Корпус | Метка | Описание | Даташит | Аналог |
| SF016 |
TO 39 |
|
Si-транзистор PNP 45V 0.6A 0.6W |
|
|
| SF018 |
TO 39 |
|
Si-транзистор PNP 45V 0.6A 0.6W |
|
|
| SF116 |
TO 39 |
|
Si-транзистор PNP 20V 0.1A 0.6W |
|
|
| SF117 |
TO 39 |
|
Si-транзистор PNP 30V 0.1A 0.6W |
|
|
| SF118 |
TO 39 |
|
Si-транзистор PNP 60V 0.1A 0.6W |
|
|
| SF119 |
TO 39 |
|
Si-транзистор PNP 80V 0.1A 0.6W |
|
|
| SF121 |
TO 39 |
|
Si-транзистор NPN 20V 0.1A 0.6W |
PDF: 125K |
|
| SF122 |
TO 39 |
|
Si-транзистор NPN 33V 0.1A 0.6W |
PDF: 125K |
BSY91 |
| SF123 |
TO 39 |
|
Si-транзистор NPN 66V 0.1A 0.6W |
PDF: 125K |
BSY92 |
| SF126 |
TO 39 |
|
Si-транзистор NPN 20V 0.1A 0.6W |
PDF: 154K |
BSY51 |
| SF127 |
TO 39 |
|
Si-транзистор NPN 30V 0.1A 0.6W |
PDF: 154K |
BSY53 |
| SF128 |
TO 39 |
|
Si-транзистор NPN 60V 0.1A 0.6W |
PDF: 154K |
BSY55 |
| SF129 |
TO 39 |
|
Si-транзистор NPN 80V 0.1A 0.6W |
|
BSY55 |
| SF131 |
TO 18 |
|
Si-транзистор NPN 20V 0.05A 0,3W |
PDF: 221K |
BF184 |
| SF132 |
TO 18 |
|
Si-транзистор NPN 40V 0.05A 0,3W |
PDF: 221K |
BF115 |
| SF136 |
TO 18 |
|
Si-транзистор NPN 20V 0,2A 0,3W |
PDF: 237K |
2N708 |
| SF137 |
TO 18 |
|
Si-транзистор NPN 12V 0,2A 0,3W |
PDF: 237K |
BFY39 |
| SF150 |
TO 39 |
|
Si-транзистор NPN 160V 0.05A 0.6W |
|
|
| SF215 |
Miniplast |
F15 / белая метка |
Si-транзистор NPN 20V 0.1A 0.2W |
PDF: 146K |
BF254 |
| SF216 |
Miniplast |
F16 / ярко-голубая метка |
Si-транзистор NPN 40V 0.1A 0.2W |
PDF: 146K |
BF241 |
| SF225 |
Miniplast |
F25 |
Si-транзистор NPN 25V 0.025A 0.2W |
PDF: 551K |
BF241 |
| SF235 |
Miniplast |
F35 |
Si-транзистор NPN 25V 0.025A 0.2W |
PDF: 204K |
BF255 |
| SF240 |
Miniplast |
F40 |
Si-транзистор NPN 30V 0.025A 0.2W |
PDF: 238K |
BF196 |
| SF245 |
Miniplast |
F45 |
Si-транзистор NPN 25V 0.025A 0.2W |
PDF: 133K |
BF199 |
| SF357 |
TO 126 |
|
Si-транзистор NPN 160V 0.1A 6W |
PDF: 115K |
BF457 |
| Тип | Корпус | Метка | Описание | Даташит | Аналог |
| SF358 |
TO 126 |
|
Si-транзистор NPN 250V 0.1A 6W |
PDF: 115K |
BF458 |
| SF359 |
TO 126 |
|
Si-транзистор NPN 300V 0.1A 6W |
PDF: 115K |
BF459 |
| SF369 |
TO 126 |
|
Si-транзистор NPN 250V 0.03A 1.2W |
PDF: 54K |
BF469 |
| SF816 |
TO 92 |
|
Si-транзистор PNP 20V 0.5A 0.735W |
|
|
| SF817 |
TO 92 |
|
Si-транзистор PNP 30V 0.5A 0.735W |
|
|
| SF818 |
TO 92 |
|
Si-транзистор PNP 60V 0.5A 0.735W |
|
|
| SF819 |
TO 92 |
|
Si-транзистор PNP 80V 0.5A 0.735W |
|
|
| SF826 |
TO 92 |
|
Si-транзистор NPN 20V 0.5A 0.735W |
|
|
| SF827 |
TO 92 |
|
Si-транзистор NPN 30V 0.5A 0.735W |
|
|
| SF828 |
TO 92 |
|
Si-транзистор NPN 60V 0.5A 0.735W |
|
|
| SF829 |
TO 92 |
|
Si-транзистор NPN 80V 0.5A 0.735W |
|
|
| SFE225 |
SOT 23 |
HO |
Si-транзистор NPN 25V 0.025A 0.2W |
PDF: 104K |
|
| SFE235 |
SOT 23 |
IO |
Si-транзистор NPN 25V 0.025A 0.2W |
PDF: 169K |
BF255 |
| SFE245 |
SOT 23 |
LO |
Si-транзистор NPN 25V 0.025A 0.2W |
PDF: 182K |
BFS20 |
| SFE250 |
SOT 23 |
|
Si-транзистор NPN 5V 50mW |
|
|
| SFE292 |
SOT 23 |
|
Si-транзистор NPN 15V 200mW |
|
|
| SFE517 |
SOT 89 |
|
Si-транзистор NPN 25V 150mA 1W |
|
|
| SFE569 |
SOT 89 |
|
Si-транзистор NPN 250V 50mA 1W |
|
|
| SFE570 |
SOT 89 |
|
Si-транзистор PNP 250V 50mA 1W |
|
|
| SM103 |
Miniplast |
03M |
N-FET 20V 15mA 150mW 3...12mA |
PDF: 117K |
|
| SM104 |
Miniplast |
04M |
N-FET 20V 15mA 150mW 1.5...6.5mA |
PDF: 117K |
|
| SM200 |
SOT 103 |
|
Двухзатворный MOSFET |
|
|
| SME992 |
SOT 23 |
|
N-канальный MOSFET для УКВ |
|
|
| SME994 |
SOT 23 |
|
N-канальный MOSFET для УКВ |
|
|
| SME996 |
SOT 23 |
|
N-канальный MOSFET для СВЧ |
|
|
| Тип | Корпус | Метка | Описание | Даташит | Аналог |
| SMY50 |
DIL 4 |
MY50 |
P-канальный MOSFET |
PDF: 79K |
MEM511 |
| SMY51 |
DIL 6 |
MY51 |
2 P-канальных MOSFET |
PDF: 79K |
MEM550DUAL |
| SMY52 |
DIL 4 |
MY52 |
P-канальный MOSFET |
PDF: 48K |
MEM517 |
| SMY60 |
DIL 10 |
|
2 P-канальных MOSFET |
|
MEM551 |
| SP101 |
TO-5 |
|
Быстрый фотодиод |
|
(BPX61) |
| SP102 |
TO-5 |
|
Быстрый фотодиод |
|
(BPX65) |
| SP103 |
TO-5 |
|
Быстрый фотодиод |
|
(BPX63) |
| SP104 |
(opto) |
|
Лавинный Si-фотодиод |
PDF: 57K |
BPW28 |
| SP105 |
(opto) |
|
Экспонометр |
PDF: 520K |
BPW21 |
| SP106 |
(opto) |
|
Si-pin-фотодиод |
PDF: 371K |
BPW34 |
| SP107 |
(opto) |
|
Si-pin-фотодиод |
|
|
| SP109 |
(opto) |
|
Si-pin-фотодиод |
PDF: 44K |
|
| SP114 |
(opto) |
|
Лавинный фотодиод |
PDF: 237K |
(BPW28) |
| SP116 |
(opto) |
|
Двойной фотодидод - датчик положения |
PDF: 371K |
BPX48 |
| SP117 |
(opto) |
|
4 фотодидода - датчик положения |
PDF: 371K |
SFH204 |
| SP119 |
(opto) |
|
Фотодиодная площадка |
PDF: 254K |
|
| SP121 |
(opto) |
|
Линейка фотодиодов |
PDF: 254K |
|
| SP123 |
(opto) |
|
Фотодиод с чувствительным кольцом |
PDF: 371K |
|
| SP124 |
(opto) |
|
Фотодиод с чувствительным кольцом |
PDF: 371K |
|
| SP201 |
(opto) |
|
Фототранзистор 4 мм |
PDF: 78K |
TIL78 |
| SP211 |
(opto) |
|
Фототранзистор (монтаж в отверстие) |
PDF: 82K |
BPX71 |
| SP212 |
(opto) |
|
Фототранзистор в миниатюрном корпусе 2 мм |
|
BPX81 |
| SP213 |
(opto) |
|
Фототранзистор в цилиндрическом корпусе диаметром 3 мм |
PDF: 230K |
SFH309 |
| SP215 |
(opto) |
|
Фототранзистор в цилиндрическом корпусе диаметром 5 мм |
|
BP103 |
| SS125 |
TO 39 |
|
Si-транзистор NPN 25V 0.5A 0.6W |
|
|
| Тип | Корпус | Метка | Описание | Даташит | Аналог |
| SS126 |
TO 39 |
|
Si-транзистор NPN 50V 0.5A 0.6W |
|
|
| SS200 |
Miniplast |
S00 |
Si-транзистор NPN 70V 0.03A 0.15W |
PDF: 78K |
|
| SS201 |
Miniplast |
S01 |
Si-транзистор NPN 100V 0.03A 0.15W |
PDF: 78K |
BF177 |
| SS202 |
Miniplast |
S02 |
Si-транзистор NPN 120V 0.03A 0.15W |
PDF: 78K |
BF178 |
| SS216 |
Miniplast |
S16 |
Si-транзистор NPN 15V 0.1A 0.2W |
PDF: 149K |
|
| SS218 |
Miniplast |
S18 |
Si-транзистор NPN 15V 0.1A 0.2W |
PDF: 149K |
|
| SS219 |
Miniplast |
S19 |
Si-транзистор NPN 15V 0.1A 0.2W |
PDF: 149K |
|
| SSE200 |
SOT 23 |
WG |
Si-транзистор NPN 70V 0.03A 0.15W |
PDF: 239K |
|
| SSE201 |
SOT 23 |
WI |
Si-транзистор NPN 100V 0.03A 0.15W |
PDF: 239K |
|
| SSE202 |
SOT 23 |
WK |
Si-транзистор NPN 120V 0.03A 0.15W |
PDF: 239K |
|
| SSE216 |
SOT 23 |
F[C/D] |
Si-транзистор NPN 15V 0.1A 0.2W |
PDF: 210K |
|
| SSE219 |
SOT 23 |
G[C/D] |
Si-транзистор NPN 15V 0.1A 0.2W |
PDF: 210K |
(BSV52) |
| SSE550 |
SOT 89 |
|
Si-транзистор NPN 45V 0.5A 1W |
|
|
| SSE551 |
SOT 89 |
|
Si-транзистор NPN 60V 0.5A 1W |
|
|
| SSE552 |
SOT 89 |
|
Si-транзистор NPN 80V 0.5A 1W |
|
|
| SSE560 |
SOT 89 |
|
Si-транзистор PNP 45V 0.5A 1W |
|
|
| SSE561 |
SOT 89 |
|
Si-транзистор PNP 60V 0.5A 1W |
|
|
| SSE562 |
SOT 89 |
|
Si-транзистор PNP 80V 0.5A 1W |
|
|
| SSY20 |
TO 39 |
|
Si-транзистор NPN 40V 0.6A 0.7W |
|
BSY34 |
| ST103 |
TO 220 |
|
Тиристор 3A 20mA |
PDF: 62K |
|
| ST108 |
DO 208 |
|
Тиристор 6A 150mA |
|
|
| ST111 |
M8 SW17 |
|
Тиристор 25A 100mA |
|
|
| ST121 |
M8 SW17 |
|
Тиристор 40A 100mA |
|
|
| SU111 |
TO 3 |
|
Si-транзистор NPN 400V 10A 120W |
PDF: 575K |
BU921 |
| SU160 |
TO 3 |
|
Si-транзистор NPN 700V 5A 12.5W |
|
BU208 |
| Тип | Корпус | Метка | Описание | Даташит | Аналог |
| SU161 |
TO 3 |
|
Si-транзистор NPN 700V 2.5A 10W |
|
BU205 |
| SU165 |
TO 3 |
|
Si-транзистор NPN 350V 2.5A 10W |
|
BU126 |
| SU167 |
TO 3 |
|
Si-транзистор NPN 325V 10A 100W |
PDF: 443K |
BU326 |
| SU169 |
TO 3 |
|
Si-транзистор NPN 400V 10A 100W |
PDF: 443K |
BUY69A |
| SU177 |
TO 3 |
|
Si-транзистор NPN 400V 4A 50W |
|
BUX46 |
| SU178 |
TO 3 |
|
Si-транзистор NPN 400V 6A 60W |
PDF: 300K |
BUX82 |
| SU179 |
TO 3 |
|
Si-транзистор NPN 450V 6A 60W |
PDF: 300K |
BUX83 |
| SU180 |
TO 3 |
|
Si-транзистор NPN 400V 4A 50W |
|
BU204 |
| SU186 |
TO 3 |
|
Si-транзистор NPN 125V 15A 150W |
PDF: 284K |
2N3055 |
| SU187 |
TO 3 |
|
Si-транзистор NPN 200V 15A 150W |
PDF: 575K |
BUX41 |
| SU188 |
TO 3 |
|
Si-транзистор NPN 250V 20A 150W |
PDF: 575K |
BUX42 |
| SU189 |
TO 3 |
|
Si-транзистор NPN 400V 15A 175W |
PDF: 575K |
BUX48 |
| SU190 |
TO 3 |
|
Si-транзистор NPN 450V 15A 175W |
PDF: 575K |
BUX48A |
| SU191 |
TO 3 |
|
Si-транзистор NPN 125V 20A |
PDF: 322K |
|
| SU192 |
TO 3 |
|
Si-транзистор NPN 250V 15A |
PDF: 322K |
|
| SU193 |
TO 3 |
|
Si-транзистор NPN 250V 15A |
PDF: 322K |
|
| SU310 |
TO 218 |
|
Составной Si-транзистор NPN 350V 12A 125W |
|
|
| SU311 |
TO 218 |
|
Составной Si-транзистор NPN 400V 12A 125W |
PDF: 342K |
|
| SU312 |
TO 218 |
|
Составной Si-транзистор NPN 400V 12A 125W |
|
|
| SU377 |
TO 220 |
|
Si-транзистор NPN 300V 6A 85W |
PDF: 575K |
MJE13004 |
| SU378 |
TO 220 |
|
Si-транзистор NPN 400V 6A 85W |
PDF: 252K |
MJE13005 |
| SU379 |
TO 220 |
|
Si-транзистор NPN 400V 6A 85W |
PDF: 575K |
BUX84 |
| SU380 |
TO 220 |
|
Si-транзистор NPN 400V 6A 85W |
PDF: 252K |
BUT11 |
| SU382 |
TO 218 |
|
Si-транзистор NPN 400V 9A 125W |
|
|
| SU383 |
TO 218 |
|
Si-транзистор NPN 450V 9A 125W |
|
|
| Тип | Корпус | Метка | Описание | Даташит | Аналог |
| SU384 |
TO 218 |
|
Si-транзистор NPN 450V 9A 125W |
|
|
| SU386 |
TO 218 |
|
Si-транзистор NPN 125V 5A 150W |
PDF: 371K |
|
| SU387 |
TO 218 |
|
Si-транзистор NPN 200V 8A 150W |
PDF: 371K |
|
| SU388 |
TO 218 |
|
Si-транзистор NPN 250V 10A 150W |
PDF: 371K |
|
| SU389 |
TO 218 |
|
Si-транзистор NPN 400V 10A 150W |
PDF: 325K |
|
| SU390 |
TO 218 |
|
Si-транзистор NPN 450V 8A 150W |
PDF: 325K |
|
| SU391 |
TO 218 |
|
Si-транзистор NPN 125V 20A 150W |
|
|
| SU392 |
TO 218 |
|
Si-транзистор NPN 160V 15A 150W |
|
|
| SU393 |
TO 218 |
|
Si-транзистор NPN 300V 10A 150W |
|
|
| SU508 |
TO 240 |
|
Si-транзистор NPN 600V 30A 250W |
PDF: 416K |
|
| SU509 |
TO 240 |
|
Si-транзистор NPN 700V 30A 250W |
PDF: 416K |
|
| SU510 |
TO 240 |
|
Si-транзистор NPN 800V 30A 250W |
PDF: 416K |
|
| SU518 |
TO 240 |
|
Si-транзистор NPN 400V 50A 400W |
|
|
| SU519 |
TO 240 |
|
Si-транзистор NPN 700V 50A 400W |
|
|
| SU520 |
TO 240 |
|
Si-транзистор NPN 800V 50A 400W |
|
|
| SY170 |
DO 208 |
|
Выпрямительный Si-диод 100V...700V 25A |
|
SSiE12 |
| SY171 |
DO 208 |
|
Выпрямительный Si-диод 100V...700V 25A |
|
SSiE11 |
| SY180 |
M8 SW14 |
|
Выпрямительный Si-диод 100V...1400V 30A |
|
|
| SY180..A |
M8 SW14 |
|
Si Avalanche-Diode 100V...1400V 30A |
|
|
| SY185 |
M8 |
|
Выпрямительный Si-диод 50V...600V bis 25A |
PDF: 82K |
|
| SY191 |
M5 |
|
Выпрямительный Si-диод 100V...1600V 20A |
PDF: 506K |
|
| SY192 |
M6 |
|
Выпрямительный Si-диод 100V...1600V 45A |
PDF: 386K |
|
| SY196 |
M5 |
|
Выпрямительный Si-диод 100V...1000V 15A |
PDF: 506K |
|
| SY197 |
M6 |
|
Выпрямительный Si-диод 100V...1000V 25A |
PDF: 386K |
|
| SY2.. |
Metall |
|
Выпрямительный Si-диод 75V...1000V 1A |
|
BYY3x |
| Тип | Корпус | Метка | Описание | Даташит | Аналог |
| SY250 |
DO |
|
Выпрямительный Si-диод 50V...1000V 250A |
|
|
| SY320 |
DO 27 |
|
Выпрямительный Si-диод 75V...1000V 0,95A |
|
BY201 |
| SY330 |
DO 15 |
|
Выпрямительный Si-диод 100V...2000V 0.5A |
PDF: 84K |
BY203 |
| SY345 |
DO 15 |
|
Выпрямительный Si-диод 50V...1000V 0.5A |
|
BY113 |
| SY346 |
DO 15 |
|
Выпрямительный Si-диод 50V...1000V 0.6A...0,8A |
|
|
| SY347 |
DO 15 |
|
Выпрямительный Si-диод 50V...1000V 0.5A...0,7A |
|
1P643 |
| SY351 |
DO 27 |
|
Выпрямительный Si-диод 50V...1600V 3A |
PDF: 66K |
BY251 |
| SY356 |
DO 27 |
|
Выпрямительный Si-диод 50V...1000V 2.3A...3A |
PDF: 80K |
BYX258 |
| SY360 |
DO 15 |
|
Выпрямительный Si-диод 50V...1600V 0,95A |
|
1N400x |
| SY361 |
DO 15 |
|
Выпрямительный Si-диод 1000V...1800V 1A |
|
1N4007 |
| SY525 |
DO 4 |
|
Выпрямительный диод Шоттки 20V...70V 30A |
PDF: 281K |
|
| SY526 |
DO 4 |
|
Выпрямительный диод Шоттки 30V...45V 25A |
PDF: 275K |
|
| SY625 |
DO 4 |
|
Выпрямительный Si-диод 50V...200V 28A |
PDF: 264K |
|
| SY710 |
DO 220 |
|
Выпрямительный Si-диод 50V...200V 7A |
PDF: 304K |
BAW29 |
| SY715 |
DO 220 |
|
Выпрямительный Si-диод 50V...200V 12A |
PDF: 338K |
BVY79 |
| SZ500 |
M4 |
|
Si-стабилитрон 1V...22V 5% 8W |
|
|
| SZ600 |
M4 |
|
Si-стабилитрон 0,75V...22V 5% 8W |
|
BZY95 |
| SZX18 |
DO |
черное кольцо |
Si-стабилитрон 1V...33V 10% 0.5W |
|
BZX55 |
| SZX19 |
DO |
красная точка |
Si-стабилитрон 5.1V...33V 5% 0.5W |
|
BZX55 |
| SZX21 |
Miniplast |
|
Si-стабилитрон 1V...24V 5% 0,4W |
|
BZX55 |
| SZY20 |
HC33U |
черное кольцо |
Si-стабилитрон 8.4V TK10 |
|
BZY22 |
| SZY21 |
HC33U |
желтая точка |
Si-стабилитрон 8.4V TK5 |
|
BZY23 |
| SZY22 |
HC33U |
синяя метка |
Si-стабилитрон 8.4V TK2 |
|
BZY24 |
| SZY23 |
HC33U |
красная точка |
Si-стабилитрон 8.4V TK1 |
|
BZY25 |
| TTA20 |
|
|
Гибридная микросхема, инструментальный усилитель |
PDF: 326K |
|
| Тип | Корпус | Метка | Описание | Даташит | Аналог |
| U.88.. |
|
|
Однокристальная микроЭВМ |
PDF: 672K |
|
| U1001C |
DIL 16 |
|
Микросхема телефонного фильтра PCM |
PDF: 707K |
|
| U101 |
DIL 14 |
|
Два полных сумматора P-MOS |
PDF: 186K |
|
| U1011C |
DIL 16 |
|
Кодек PCM для телефона |
PDF: 774K |
|
| U102 |
DIL 10 |
|
Два P-MOS вентиля 3ИЛИ-НЕ |
PDF: 170K |
|
| U1021C |
DIL 24 |
|
Микросхема управления для телефона |
PDF: 617K |
|
| U103 |
DIL 10 |
|
RST-триггер P-MOS |
PDF: 184K |
|
| U104 |
DIL 10 |
|
Два P-MOS вентиля Исключающее ИЛИ (XOR) |
PDF: 168K |
|
| U105 |
DIL 14 |
|
6 транзисторов P-MOS |
PDF: 149K |
|
| U1056D |
DIL 16 |
|
PLL-синтезатор |
PDF: 1.1M |
SAA1056 |
| U1059D |
DIL 16 |
|
Делитель частоты |
PDF: 338K |
SAA1059 |
| U106 |
DIL 16 |
|
6 вентилей P-MOS 2ИЛИ-НЕ |
PDF: 175K |
|
| U107 |
DIL 16 |
|
3 вентиля P-MOS 2И (2 вентиля обычных, 1 вентиль с дифференциальными выходами) |
PDF: 178K |
|
| U108 |
DIL 22 |
|
2 JK-триггера P-MOS |
PDF: 216K |
|
| U109 |
DIL 14 |
|
Определитель четности P-MOS |
PDF: 162K |
|
| U111 |
DIL 24 |
|
Делитель частоты P-MOS 7 x 2:1 |
|
|
| U112 |
DIL 14 |
|
Делитель частоты P-MOS 7 x 2:1 |
PDF: 156K |
|
| U113F |
Flat-Pack 8 |
|
Микросхема часов |
PDF: 51K |
|
| U114D |
DIL 10 |
|
Микросхема часов 4.19 МГц |
|
|
| U1159DC |
DIL 16 |
|
Микросхема делителя частоты |
PDF: 575K |
|
| U116S |
DIL 10 |
|
Микросхема часов 32768 Гц |
|
|
| U117X |
Chip |
|
Микросхема часов |
|
|
| U118F |
Plat-Pack 8 |
|
Микросхема часов |
|
|
| U121D |
DIL 28 |
|
Обратный 4-битный двоичный счетчик |
PDF: 247K |
|
| U122D |
DIL 28 |
|
Обратный 4-битный двоичный счетчик |
PDF: 247K |
|
| Тип | Корпус | Метка | Описание | Даташит | Аналог |
| U125D |
DIL 40 |
|
4-декадный счетчик с мултиплексированным выходом на 7-сегментный индикатор |
PDF: 2.1M |
|
| U126D |
DIL 40 |
|
4-декадный счетчик для цифрового вольтметра |
PDF: 322K |
|
| U1301XS |
Chip |
|
Микросхема часов для LCD |
|
|
| U1311 |
FlatPack 64 |
|
Микросхема часов для таймера |
|
|
| U131G |
PQFP 53 |
|
Микросхема часов для LCD |
|
|
| U1600 |
QFP 28...124 |
|
Программируемая логика CMOS |
|
|
| U192D |
DIL 16 |
|
1½-разрядный декодер 7-сегментного индикатора |
PDF: 453K |
|
| U202D |
DIL 16 |
|
sRAM 1K x 1 |
PDF: 358K |
2102 |
| U2148D |
DIL 18 |
|
sRAM 1K x 4 |
PDF: 820K |
2148 |
| U214D |
DIL 18 |
|
sRAM 1K x 4 |
PDF: 682K |
2114 |
| U215D |
DIL 16 |
|
sRAM 1K x 1 |
PDF: 636K |
P2115 |
| U2164C |
DIL 18 |
|
dRAM 64K x 1 |
PDF: 1.3M |
MCM6664 |
| U224D |
DIL 18 |
|
sRAM 1K x 4 |
PDF: 442K |
6514 |
| U225D |
DIL 16 |
|
sRAM 1K x 1 |
PDF: 636K |
P2125 |
| U2316C |
DIL 24 |
|
ROM 2K x 8 |
PDF: 568K |
|
| U2364C |
DIL 28 |
|
ROM 8K x 8 |
PDF: 445K |
|
| U2365C |
DIL 28 |
|
ROM 8K x 8 с защелкой адреса |
PDF: 445K |
|
| U253D |
DIL 18 |
|
dRAM 1K x 1 |
PDF: 395K |
P1103 |
| U256D |
DIL 16 |
|
dRAM 16K x 1 |
PDF: 1.5M |
4116 |
| U2616D |
DIL 24 |
|
PROM 2K x 8 |
PDF: 541K |
|
| U2632D |
DIL 24 |
|
PROM 4K x 8 |
PDF: 211K |
|
| U2664D |
DIL 28 |
|
PROM 8K x 8 |
|
|
| U2716D |
DIL 24 |
|
EPROM 2K x 8 |
PDF: 541K |
2716 |
| U2732D |
DIL 24 |
|
EPROM 4K x 8 |
PDF: 854K |
2732 |
| U2764D |
DIL 28 |
|
EPROM 8K x 8 |
|
|
| Тип | Корпус | Метка | Описание | Даташит | Аналог |
| U311 |
DIL 16 |
|
5-разрядный регистр сдвига P-MOS |
PDF: 44K |
|
| U32C20 |
PQFP 68 |
|
Цифровой сигнальный процессор (DSP) |
|
|
| U352 |
DIL 10 |
|
64-разрядный регистр сдвига P-MOS |
PDF: 255K |
MEM3064 |
| U4... |
|
|
Логика CMOS |
|
MC14... |
| U401D |
DIL 28 |
|
ROM знакогенератор 64 x 50 |
PDF: 77K |
|
| U402D |
DIL 24 |
|
ROM знакогенератор 64 x 40 |
PDF: 78K |
|
| U403D |
DIL 24 |
|
ROM знакогенератор 32 x 80 |
PDF: 76K |
|
| U40511D |
DIL 16 |
|
Декодер BCD в 7-сегментный код с HEX-символами |
PDF: 666K |
(CD4511) |
| U4538 |
DIL 18 |
|
Буферный мультиплексор адреса RAM |
|
|
| U501D |
DIL 24 |
|
ROM 256 x 8 |
PDF: 91K |
P1302 |
| U505D |
DIL 24 |
|
ROM 1K x 8 |
|
P2308 |
| U5200 |
PLCC 64 |
|
Массив вентилей CMOS |
PDF: 490K |
|
| U5300 |
QFP 124 |
|
Массив вентилей CMOS |
|
|
| U551D |
DIL 24 |
|
PROM 256 x 8 |
|
P1602 |
| U552D |
DIL 24 |
|
EPROM 256 x 8 |
|
C1702 |
| U555C |
DIL 24 |
|
EPROM 1024 x 8 |
PDF: 104K |
2708 |
| U61000 |
DIL 18 |
|
dRAM 1M x 1 |
|
|
| U61256DC |
DIL 16 |
|
dRAM 256K x 1 |
PDF: 1.3M |
41256 |
| U6264DG |
DIL 28 |
|
sRAM 8K x 8 |
PDF: 146K |
8464 |
| U6516D |
DIL 24 |
|
sRAM 2K x 8 |
PDF: 784K |
HM6516 |
| U6548D |
DIL 18 |
|
sRAM 1K x 4 |
PDF: 589K |
HM6548 |
| U700 |
DIL 22 |
|
Программируемый дешифратор |
PDF: 49K |
|
| U705 |
DIL 24 |
|
Программируемый дешифратор |
PDF: 97K |
|
| U706D |
DIL 24 |
|
Микросхема для управления тиристорами |
PDF: 80K |
|
| U708D |
DIL 16 |
|
Микросхема для управления симисторами |
PDF: 816K |
|
| Тип | Корпус | Метка | Описание | Даташит | Аналог |
| U710 |
DIL 16 |
|
Программируемый дешифратор |
PDF: 91K |
|
| U711 |
DIL 16 |
|
Дешифратор |
PDF: 68K |
|
| U713 |
DIL 18 |
|
Микросхема для сенсорной клавиатуры телефона |
|
|
| U714PC |
PLCC 64 |
|
Драйвер матричного LCD |
PDF: 900K |
HD44100 |
| U739DC |
DIL 28 |
|
12-битный АЦП |
|
|
| U7650DD |
DIL 14 |
|
CMOS операционный усилитель с чоппером |
|
ICL7650 |
| U7660D |
DIL 8 |
|
Микросхема повышения напряжения |
PDF: 438K |
ICL7660 |
| U8030D |
DIL 40 |
|
Контроллер последовательного интерфейса RS232 |
PDF: 491K |
Z8030 |
| U8036D |
DIL 40 |
|
Таймер-счетчик и параллельный интерфейс для CPU |
PDF: 374K |
Z8036 |
| U8047P |
PCC 64 |
|
Однокристальный микроконтроллер (MCU) |
PDF: 1.1M |
|
| U804D |
DIL 16 |
|
6-канальный ЦАП |
PDF: 738K |
SAB3013 |
| U805D |
DIL 24 |
|
Контроллер управления |
|
|
| U80601 |
PLCC 68 |
|
16-разрядный микропроцессор |
|
|
| U80606 |
DIL 20 |
|
Контроллер шины |
|
|
| U80608 |
PLCC 68 |
|
Схема обнаружения и коррекции ошибок |
|
|
| U80610 |
PLCC 68 |
|
Контроллер DRAM |
|
|
| U806D |
DIL 24 |
|
IR-приемник дистанционного управления |
PDF: 2.3M |
SAB3022B |
| U80701 |
PLCC 68 |
|
32-разрядный микропроцессор |
|
|
| U8071 |
PLCC 68 |
|
32-разрядный микропроцессор |
|
|
| U807D |
DIL 24 |
|
IR-передатчик дистанционного управления |
PDF: 2.3M |
SAB3021 |
| U808D |
DIL 18 |
|
8-разрядный CPU |
|
P8008 |
| U82062D |
DIL 40 |
|
Контроллер жесткого диска (HDC) |
PDF: 287K |
|
| U821D |
DIL 28 |
|
Микросхема калькулятора |
PDF: 98K |
|
| U8246I |
PCC 24 |
|
sRAM 256 x 4 |
PDF: 670K |
|
| U824G |
PQFO 56 |
|
Микросхема калькулятора |
|
|
| Тип | Корпус | Метка | Описание | Даташит | Аналог |
| U82530D |
DIL 40 |
|
Контроллер последовательного интерфейса RS232 |
PDF: 491K |
P82530 |
| U82536D |
DIL 40 |
|
Таймер-счетчик и параллельный интерфейс для CPU |
PDF: 374K |
Z8536 |
| U825G |
PQFO 53 |
|
Микросхема калькулятора с функцией часов |
|
|
| U826G |
PQFO 56 |
|
Микросхема калькулятора |
|
|
| U82720D |
DIL 40 |
|
Контроллер графического дисплея |
PDF: 727K |
uPD82720 |
| U8272D |
DIL 40 |
|
Контроллер floppy-диска (FDC) |
PDF: 1.1M |
I8272 |
| U830C |
DIL 48 |
|
8-разрядный CPU |
|
|
| U834C |
DIL 48 |
|
Микросхема буфера-согласователя шины |
|
|
| U84C00 |
DIL 40 |
|
Z80 CPU CMOS |
|
Z84C00 |
| U84C20 |
DIL 40 |
|
Z80 PIO (контроллер параллельного ввода-вывода) CMOS (контроллер параллельного ввода/вывода) |
|
Z84C20 |
| U84C30 |
DIL 40 |
|
Z80 CTC CMOS (таймер-счетчик) |
|
Z84C30 |
| U84C40 |
DIL 40 |
|
Z80 SIO CMOS (контроллер последовательного порта) |
|
Z84C40 |
| U855 |
DIL 40 |
|
Z80 PIO (контроллер параллельного ввода-вывода) |
|
|
| U856 |
DIL 40 |
|
Z80 SIO (контроллер последовательного порта) |
PDF: 105K |
|
| U8560 |
DIL 40 |
|
Z80 SIO (контроллер последовательного порта, эквивалент U856) |
PDF: 105K |
|
| U8561 |
DIL 40 |
|
Z80 SIO (контроллер последовательного порта, аналог U856) |
PDF: 127K |
|
| U857 |
DIL 28 |
|
Z80 CTC (таймер-счетчик) |
PDF: 248K |
|
| U858 |
DIL 40 |
|
Z80 DMA (контроллер прямого доступа к памяти) |
PDF: 68K |
|
| U8611D |
DIL 40 |
|
Однокристальная микроЭВМ |
PDF: 553K |
Z8682 |
| U880 |
DIL 40 |
|
Z80 CPU |
|
|
| U9032XC |
Chip |
|
Драйвер для управления LED-строкой |
PDF: 321K |
|
| UA855 |
DIL 40 |
|
Z80 PIO (контроллер параллельного ввода-вывода, U855 на частоте 4 МГц) |
|
|
| UA856 |
DIL 40 |
|
Z80 SIO (контролллер последовательного порта, U856 на частоте 4 МГц) |
PDF: 127K |
|
| UA8563 |
DIL 40 |
|
Z80 UART (контроллер последовательного порта, 0...70°C, частота 4 МГц) |
PDF: 127K |
|
| UA857 |
DIL 28 |
|
Z80 CTC (таймер-счетчик, U857 на частоте 4 МГц) |
PDF: 248K |
|
| Тип | Корпус | Метка | Описание | Даташит | Аналог |
| UA858 |
DIL 40 |
|
Z80 DMA (контроллер прямого доступа к памяти, U858 с частотой 4 МГц) |
PDF: 68K |
|
| UA880 |
DIL 40 |
|
Z80 CPU (аналог U880, частота 4 МГц) |
|
|
| UB8001 |
DIL 48 |
|
16-битный микропроцессор |
PDF: 616K |
|
| UB8002 |
DIL 40 |
|
16-битный микропроцессор |
PDF: 616K |
|
| UB8010C |
DIL 48 |
|
Блок управления памятью (MMU) к микропроцессору UB800x |
PDF: 487K |
|
| UB8032C |
DIL 48 |
|
Арифметический сопроцессор (обработка плавающей точки, FPU) к микропроцессору UB800x |
|
|
| UB855 |
DIL 40 |
|
Z80 PIO (контроллер параллельного ввода-вывода, аналог U855) |
|
|
| UB856 |
DIL 40 |
|
Z80 SIO (контроллер последовательного порта, эквивалент U856) |
PDF: 127K |
|
| UB8563 |
DIL 40 |
|
Z80 UART (контроллер последовательного порта, 0...70°C, частота 2.5 МГц) |
PDF: 127K |
|
| UB857 |
DIL 28 |
|
Z80 CTC (таймер-счетчик, аналог U857) |
PDF: 248K |
|
| UB858 |
DIL 40 |
|
Z80 DMA (контроллер прямого доступа к памяти, аналог U858) |
PDF: 68K |
|
| UB880 |
DIL 40 |
|
Z80 CPU, аналог U880 |
|
|
| UB8810 |
DIL 40 |
|
Однокристальный MCU, 2k внутреннего ROM, встроенный генератор |
PDF: 351K |
Z8601 |
| UB8811 |
DIL 40 |
|
Однокристальный MCU, 2k внутреннего ROM, функция энергосбережения/выключения |
PDF: 351K |
Z8601 |
| UB8820 |
QUIP 64 |
|
Однокристальный MCU, 2k внешнего ROM, встроенный генератор |
|
Z8602 |
| UB8821 |
QUIP 64 |
|
Однокристальный MCU, 2k внешнего ROM, функция энергосбережения/выключения |
|
Z8602 |
| UB8830 |
DIL 40 |
|
Однокристальный MCU, Tiny Basic, встроенный генератор |
PDF: 351K |
|
| UB8831 |
DIL 40 |
|
Однокристальный MCU, Tiny Basic, функция энергосбережения/выключения |
PDF: 351K |
|
| UB8840 |
QUIP 64 |
|
Однокристальный MCU 4k ext. ROM int. Osz. |
|
Z8612 |
| UB8841 |
QUIP 64 |
|
Однокристальный MCU 4k ext. ROM power down |
|
Z8612 |
| UB8860 |
DIL 40 |
|
Однокристальный MCU, версия без ROM, встроенный генератор |
|
Z8682 |
| UB8861 |
DIL 40 |
|
Однокристальный MCU, версия без ROM, функция энергосбережения/выключения |
|
Z8682 |
| UL224D |
DIL 18 |
|
sRAM 1K x 4 |
PDF: 442K |
|
| UL7211 |
DIP 40 |
|
Схема управления LCD |
PDF: 103K |
ICM7211 |
| UL8611D |
DIL 40 |
|
Однокристальная микроЭВМ, функция энергосбережения/выключения |
PDF: 553K |
|
| Тип | Корпус | Метка | Описание | Даташит | Аналог |
| UP7211 |
DIP 40 |
|
Схема управления LCD |
PDF: 103K |
|
| US224D |
DIL 18 |
|
sRAM 1K x 4 |
PDF: 442K |
|
| VB855 |
DIL 40 |
|
Z80 PIO (контроллер параллельного ввода-вывода, аналог U855, -25...+85°C) |
|
|
| VB856 |
DIL 40 |
|
Z80 SIO (контроллер последовательного порта, аналог U856, -25...85°C) |
PDF: 127K |
|
| VB8563 |
DIL 40 |
|
Z80 UART (контроллер последовательного порта, -25...85°C, частота 2.5 МГц |
PDF: 127K |
|
| VB857 |
DIL 28 |
|
Z80 CTC (таймер-счетчик, аналог U857, -25...85°C) |
PDF: 248K |
|
| VB880 |
DIL 40 |
|
Z80 CPU (аналог U880, -25...85°C) |
|
|
| VFE15 |
TO 120 |
|
GaAs-FET bis 12 ГГц |
|
|
| VK11 |
|
|
7-сегментный индикатор, 10 цифр, красная точка 3.4 mmm |
PDF: 63K |
|
| VK12 |
|
|
7-сегментный индикатор, 9 цифр, красная точка 3.4 mmm |
PDF: 63K |
|
| VK15 |
|
|
7-сегментный индикатор, 9 цифр, красная точка 3.4 mmm |
PDF: 63K |
|
| VL224D |
DIL 18 |
|
sRAM 1K x 4 |
PDF: 442K |
|
| VQ110 |
(opto) |
|
Инфракрасный LED, 4 мм |
PDF: 69K |
|
| VQ120 |
(opto) |
|
Инфракрасный LED (для монтажа в отверстие) |
PDF: 374K |
CQX57I |
| VQ121 |
(opto) |
|
Инфракрасный LED, 2 мм |
PDF: 297K |
LD261 |
| VQ123 |
(opto) |
|
Инфракрасный LED, 3 мм |
|
SFH409 |
| VQ125 |
(opto) |
|
Инфракрасный LED, 5 мм |
|
LD271 |
| VQ130 |
(opto) |
|
Инфракрасный LED с диодом монитора |
PDF: 41K |
C30119 |
| VQ150 |
(opto) |
|
Инфракрасный лазерный LED с диодом монитора и охладителем Пельтье |
PDF: 653K |
|
| VQ170 |
(opto) |
|
Инфракрасный LED |
PDF: 222K |
|
| VQ175 |
(opto) |
|
Инфракрасный LED |
PDF: 346K |
|
| VQA10 |
(opto) |
|
LED 5mm красный |
|
LS5160 |
| VQA101 |
(opto) |
|
LED 5x1 mm красный |
PDF: 322K |
CQW60L |
| VQA102 |
(opto) |
|
LED 5 mm красный |
PDF: 322K |
|
| VQA103 |
(opto) |
|
LED 5x2.3 mm краснsq |
|
CQW60L |
| Тип | Корпус | Метка | Описание | Даташит | Аналог |
| VQA12 |
(opto) |
|
LED 4 mm красный |
|
|
| VQA13 |
(opto) |
|
LED 5 mm красный |
PDF: 37K |
TLR116A |
| VQA13-1 |
(opto) |
|
LED 5 mm красный |
|
LR5160 |
| VQA14 |
(opto) |
|
LED 2.4x4.85 mm красный |
PDF: 109K |
LRB480 |
| VQA15 |
(opto) |
|
LED 2 mm красный |
PDF: 53K |
LRZ181 |
| VQA16 |
(opto) |
|
LED 5 mm красный |
PDF: 653K |
TLR153 |
| VQA17 |
(opto) |
|
LED 3 mm красный |
PDF: 653K |
TLR124 |
| VQA18 |
(opto) |
|
LED 5x2 mm красный |
PDF: 109K |
TLR208 |
| VQA19 |
(opto) |
|
LED 5 mm треугольный красный |
PDF: 109K |
TLR207 |
| VQA201 |
(opto) |
|
LED 5x1 mm зеленый |
PDF: 322K |
CQW60L |
| VQA202 |
(opto) |
|
LED 5 mm зеленый |
PDF: 322K |
|
| VQA203 |
(opto) |
|
LED 5x2.3 mm зеленый |
|
CQW60L |
| VQA23 |
(opto) |
|
LED 5 mm зеленый |
PDF: 64K |
LG5160 |
| VQA24 |
(opto) |
|
LED 2.4x4.85 mm зеленый |
PDF: 109K |
LGB480 |
| VQA25 |
(opto) |
|
LED 2 mm зеленый |
PDF: 482K |
LGZ181 |
| VQA26 |
(opto) |
|
LED 5 mm зеленый |
PDF: 653K |
TLG153 |
| VQA27 |
(opto) |
|
LED 3 mm зеленый |
PDF: 653K |
TLG124 |
| VQA28 |
(opto) |
|
LED 5x2 mm зеленый |
PDF: 109K |
TLG208 |
| VQA29 |
(opto) |
|
LED 5 mm треугольный |
PDF: 109K |
TLG207 |
| VQA301 |
(opto) |
|
LED 5x1 mm желтый |
PDF: 322K |
CQW60L |
| VQA303 |
(opto) |
|
LED 5x2.3 mm желтый |
|
CQW60L |
| VQA33 |
(opto) |
|
LED 5 mm желтый |
PDF: 67K |
LY5160 |
| VQA34 |
(opto) |
|
LED 2.4x4.85 mm желтый |
PDF: 109K |
LYB480 |
| VQA35 |
(opto) |
|
LED 2 mm желтый |
PDF: 482K |
LYZ181 |
| VQA36 |
(opto) |
|
LED 5 mm желтый |
PDF: 653K |
TLY153 |
| Тип | Корпус | Метка | Описание | Даташит | Аналог |
| VQA37 |
(opto) |
|
LED 3 mm желтый |
PDF: 653K |
TLY124 |
| VQA38 |
(opto) |
|
LED 5x2 mm желтый |
PDF: 109K |
TLY208 |
| VQA39 |
(opto) |
|
LED 5 mm треугольный желтый |
PDF: 109K |
TLY207 |
| VQA46 |
(opto) |
|
LED 5 mm оранжевый |
PDF: 653K |
TLO153 |
| VQA47 |
(opto) |
|
LED 3 mm оранжевый |
PDF: 653K |
TLO124 |
| VQA49 |
(opto) |
|
LED 5 mm треугольный оранжевый |
PDF: 109K |
TLO207 |
| VQA60 |
(opto) |
|
Двухцветный LED 5 mm красный/зеленый |
PDF: 467K |
LD100 |
| VQA70 |
(opto) |
|
LED 5 mm красная точка/желтая точка |
PDF: 467K |
|
| VQA80 |
(opto) |
|
LED 5 mm зеленая точка/желтая точка |
PDF: 467K |
|
| VQB16 |
(opto) |
|
7-сегментный индикатор [±1.] 3/4" красный |
PDF: 435K |
(HDSP3906) |
| VQB17 |
(opto) |
|
7-сегментный индикатор [8] 3/4" красный, общий катод |
PDF: 435K |
(HDSP3903) |
| VQB18 |
(opto) |
|
7-сегментный индикатор [8] 3/4" красный, общий анод |
PDF: 435K |
(HDSP3901) |
| VQB200 |
(opto) |
|
16-сегментный индикатор 1/2" зеленый, общий катод |
PDF: 453K |
(TLG370) |
| VQB201 |
(opto) |
|
16-сегментный индикатор 1/2" зеленая точка общий анод |
PDF: 453K |
(TLG371) |
| VQB26 |
(opto) |
|
7-сегментный индикатор [±1.] 3/4" зеленая точка |
PDF: 88K |
(HDSP8606) |
| VQB27 |
(opto) |
|
7-сегментный индикатор [8] 3/4" зеленый, общий катод |
PDF: 88K |
(HDSP8603) |
| VQB28 |
(opto) |
|
7-сегментный индикатор [8] 3/4" зеленый, общий анод |
PDF: 88K |
(HDSP8601) |
| VQB37 |
(opto) |
|
7-сегментный индикатор [8] 3.4 mm красный, общий катод |
|
|
| VQB71 |
(opto) |
|
7-сегментный индикатор [8] 7 mm красный, общий анод |
PDF: 39K |
|
| VQB73 |
(opto) |
|
7-сегментный индикатор [+,-,%] 7 mm красный, общий анод |
PDF: 39K |
|
| VQC10 |
(opto) |
|
4 x матрица точек 5x7 красная точка 8 mmm |
PDF: 135K |
|
| VQC32 |
(opto) |
|
3 x 7-сегментный индикатор красная точка 3.4 mmm |
|
|
| VQD30 |
(opto) |
|
7-сегментный индикатор, 9 цифр красный 3.4 mmm |
PDF: 31K |
HP5082-7449 |
| VQD32 |
(opto) |
|
12 x 7-сегментный индикатор красный 3.4 mmm |
|
HP5082-7442 |
| VQE11 |
(opto) |
|
2 x 7-сегментный индикатор [±1.8.] красный 1/2" общий катод |
PDF: 78K |
TLR326 |
| Тип | Корпус | Метка | Описание | Даташит | Аналог |
| VQE12 |
(opto) |
|
2 x 7-сегментный индикатор [±1.8.] красный 1/2" общий анод |
PDF: 78K |
TLR427 |
| VQE13 |
(opto) |
|
2 x 7-сегментный индикатор [8.8.] красный 1/2" общий катод |
PDF: 78K |
TLR324 |
| VQE14 |
(opto) |
|
2 x 7-сегментный индикатор [8.8.] красный 1/2" общий анод |
PDF: 78K |
TLR325 |
| VQE21 |
(opto) |
|
2 x 7-сегментный индикатор [±1.8.l зеленый 1/2" общий катод |
|
TLG326 |
| VQE22 |
(opto) |
|
2 x 7-сегментный индикатор [±1.8.] зеленый 1/2" общий анод |
|
TLG327 |
| VQE23 |
(opto) |
|
2 x 7-сегментный индикатор [8.8.] зеленый 1/2" общий катод |
|
TLG324 |
| VQE24 |
(opto) |
|
2 x 7-сегментный индикатор [8.8.] зеленый 1/2" общий анод |
|
TLG325 |
| VQH200 |
(opto) |
|
Линейка 24 LED зеленая точка, ширина 60 mm |
|
|
| VQH205 |
(opto) |
|
5 x 7-сегментный индикатор und [kHz],[МГц] зеленый 6.6 mm общий анод |
PDF: 283K |
|
| VQH206 |
(opto) |
|
4 x 7-сегментный индикатор [888_8] зеленый 6.6 mm общий анод |
PDF: 283K |
|
| VQH207 |
(opto) |
|
4 x 7-сегментный индикатор [88_88] зеленый 6.6 mm общий анод |
PDF: 283K |
|
| VQH601 |
(opto) |
|
LED-линейка последовательно соединенных светодиодов 1x красная точка 5x зеленая точка |
PDF: 225K |
|
| VQH604 |
(opto) |
|
LED-линейка последовательно соединенных светодиодов 1x красная точка 5x зеленая точка |
PDF: 283K |
|
| ZA250 |
|
|
Si-стабилитрон 1...24V 250mW |
|
|